LEMON Manuals: Even more car manuals for everyone
Home >> Subaru >> 2008 >> Outback Base, Standard >> Repair and Diagnosis (Single Page) >> Engine Performance >> System >> Diagnostic Trouble Code (DTC) Detecting Criteria (H4SO) >> Diagnostic Trouble Code (DTC) Detecting Criteria >> DTC P0447 Evaporative Emission Control System Vent Control Circuit Open >> Component Description

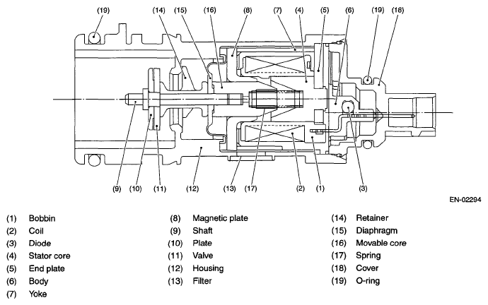
Component Description

Fig 1: Identifying Evaporative Emission Control System Components
G05340016Courtesy of SUBARU OF AMERICA, INC.