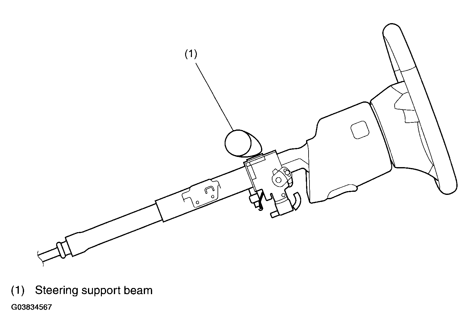
Steering Support Beam
- The steering column is held in position by a support beam, which is installed crosswise in the vehicle body at a level close to the steering wheel to reduce the overhang distance of the steering wheel from the supporting point of the column. The steering shaft upper bearing is also located close to the steering wheel to increase supporting efficiency as well as to minimize vibration of the steering wheel.