LEMON Manuals: Even more car manuals for everyone
Home >> Subaru >> 2008 >> Outback Base, Automatic >> Repair and Diagnosis >> Engine Performance >> Remove, Overhaul & Install >> Mechanism & Function -- Fuel Injection System (H4SO) >> Fuel System >> Fuel Injector

Fuel Injector

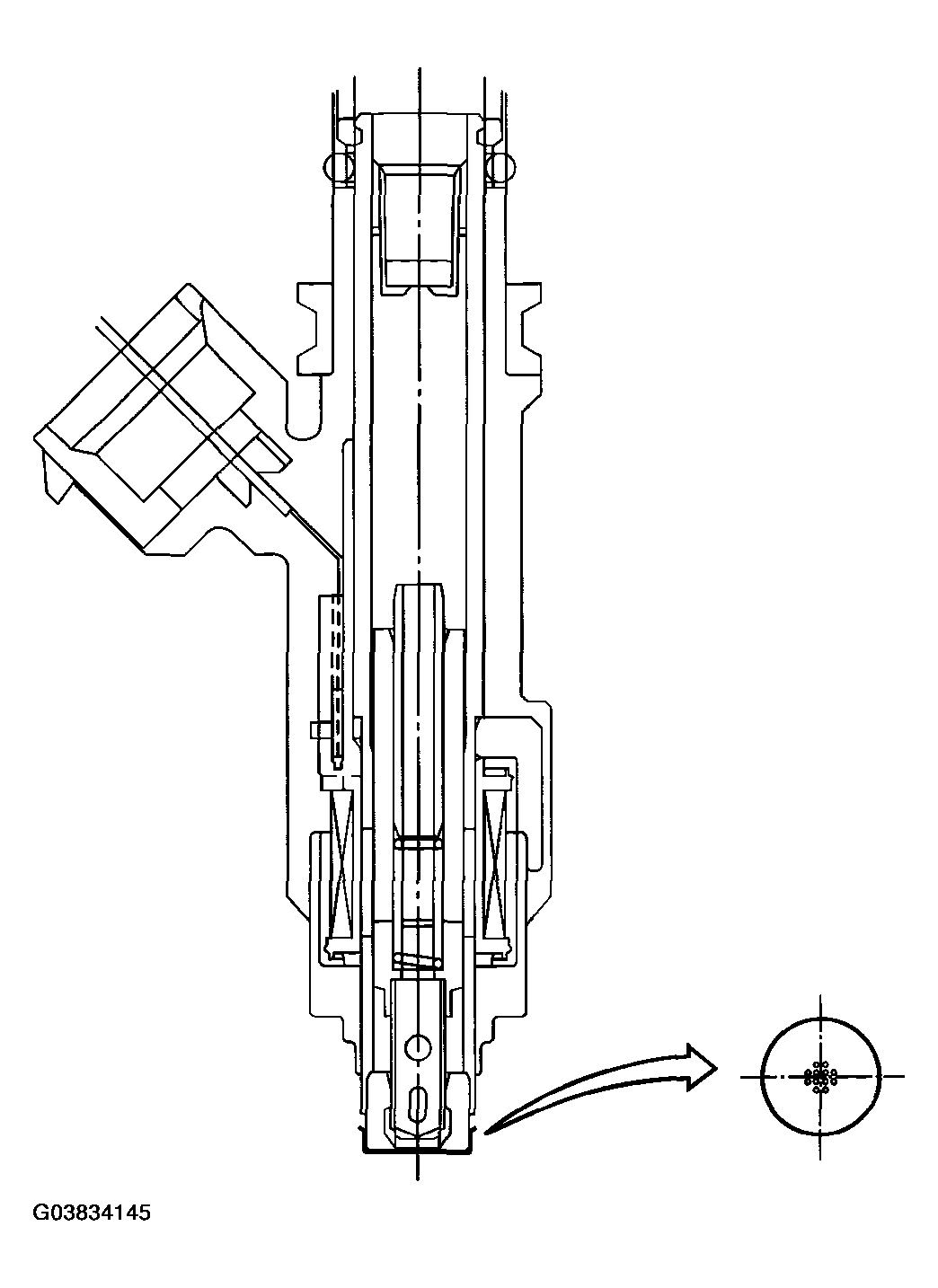
Fig 1: Fuel Injector Line Diagram
G03834145Courtesy of SUBARU OF AMERICA, INC.