LEMON Manuals: Even more car manuals for everyone
Home >> Subaru >> 2008 >> Outback Base, Automatic >> Repair and Diagnosis >> Engine Performance >> Remove, Overhaul & Install >> Mechanism & Function -- Fuel Injection System (H4SO) >> Control System >> Ignition Control

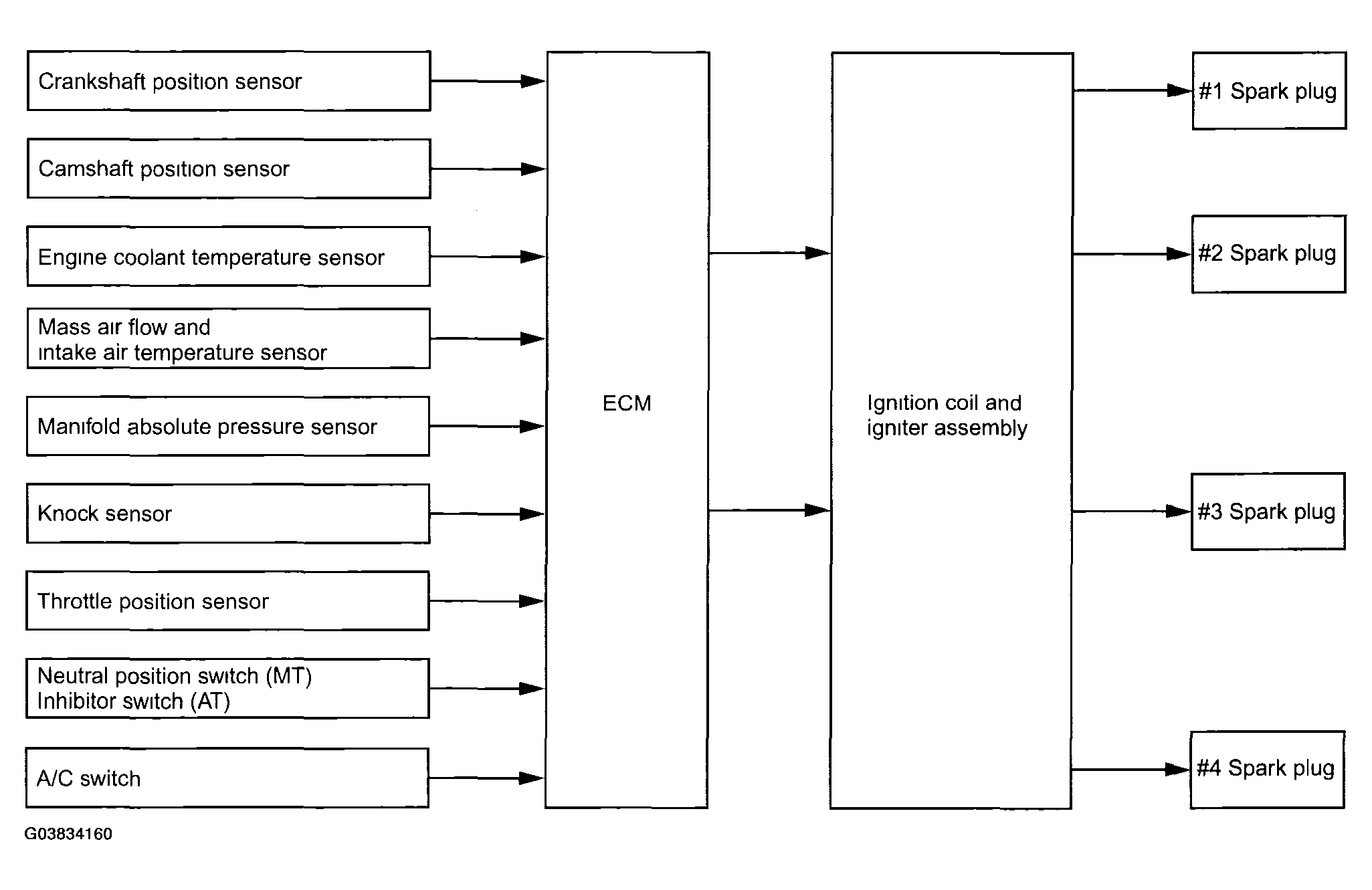
Ignition Control

From the time to receive crank angle signals indicating 180° of a turn, the ECM measures the engine speed, and by using this data it decides the dwell set timing and ignition timing according to the engine condition.

Fig 2: Ignition Temperature Graph
G03834161Courtesy of SUBARU OF AMERICA, INC.