LEMON Manuals: Even more car manuals for everyone
Home >> Subaru >> 2008 >> Outback Base, Automatic >> Repair and Diagnosis >> Engine Performance >> Engine Control Systems >> Fuel Injection System (H4SO) >> Fuel Filler Pipe >> Installation

Fuel Filler Pipe: Installation

  1. Open the fuel filler flap lid.
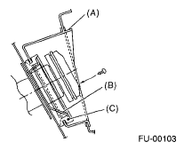
  2. Set the fuel saucer (A) with rubber seal (C), and insert the fuel filler pipe into hole from the inner side of apron.
  3. Align the holes in fuel filler pipe neck and set the cup (B), and tighten the screws.
    NOTE: If the edges of rubber seal are folded toward inside, straighten it with a flat tip screwdriver.
    Fig 1: Aligning Holes In Fuel Filler Pipe Neck And Set Cup
    G04997457Courtesy of SUBARU OF AMERICA, INC.
  4. Securely insert the fuel filler hose (A) and evaporation hose (B) to the specified position, then tighten the clamp.

    Tightening torque: 2.5 N.m (0.3 kgf-m, 1.8 ft-lb) 

    Fig 2: Identifying Fuel Filler Hose And Evaporation Hose
    G05016905Courtesy of SUBARU OF AMERICA, INC.
    Fig 3: Identifying Evaporation Hose
    G05016906Courtesy of SUBARU OF AMERICA, INC.
    Fig 4: Identifying Hose, Clip And Clamp With Pipe
    G05339292Courtesy of SUBARU OF AMERICA, INC.
  5. Tighten the bolts which hold fuel filler pipe bracket on the body.

    Tightening torque: 7.5 N.m (0.76 kgf-m, 5.5 ft-lb) 

    Fig 5: Identifying Fuel Filler Pipe Bracket
    G05016904Courtesy of SUBARU OF AMERICA, INC.
  6. Install the rear sub frame. <Ref. to INSTALLATION , Rear Sub Frame .>
  7. Install the mud guard. <Ref. to INSTALLATION , Mud Guard .>
  8. Lower the vehicle.
  9. Install the rear wheel RH.

    Tightening torque: 100 N.m (10.2 kgf-m, 73.8 ft-lb) 

  10. Connect the battery ground cable to battery.
    Fig 6: Identifying Ground Cable From Battery
    G05019586Courtesy of SUBARU OF AMERICA, INC.