LEMON Manuals: Even more car manuals for everyone
Home >> Subaru >> 2007 >> Outback i, Automatic >> Repair and Diagnosis >> Transmission >> Transmission Control Systems >> A/T Control Systems >> MT Gear Shift Lever >> Assembly >> 6MT Model

6MT Model

NOTE:
  • Clean all the parts before assembly.
  • Apply NIGTIGHT LYW No. 2 grease or equivalent to each part.
  1. Mount the bushing and cushion rubber to the stay.
    Fig 1: Identifying Bushing, Cushion Rubber And Stay
    G05341912Courtesy of SUBARU OF AMERICA, INC.
  2. Install the bushing and spacer to boss.
    Fig 2: Identifying Bushing And Spacer
    G05341913Courtesy of SUBARU OF AMERICA, INC.
  3. Install the snap ring to gear shift lever and install the bushing.
    NOTE: Apply grease to the bushing.
    Fig 3: Identifying Snap Ring And Bushing
    G05341914Courtesy of SUBARU OF AMERICA, INC.
  4. Apply grease to the bushing and O-ring, and then install to gear shift lever.
    Fig 4: Identifying Bushing And O-Ring
    G05341915Courtesy of SUBARU OF AMERICA, INC.
  5. Apply sufficient grease into boss, and then install the gear shift lever to the stay.
    Fig 5: Identifying Gear Shift Lever And Stay
    G05002359Courtesy of SUBARU OF AMERICA, INC.
  6. Install the washer and snap ring.
    Fig 6: Identifying Washer And Snap Ring
    G05341917Courtesy of SUBARU OF AMERICA, INC.
  7. Insert the gear shift lever and rod into boot hole.
  8. Install the rod.

    Tightening torque: 12 N.m (1.2 kgf-m, 8.9 ft-lb) 

    Fig 7: Identifying Gear Shift Lever, Rod And Stay
    G05341918Courtesy of SUBARU OF AMERICA, INC.
  9. Install the boss to the rod.

    Tightening torque: 12 N.m (1.2 kgf-m, 8.9 ft-lb) 

    Fig 8: Identifying Boss And Rod
    G05341919Courtesy of SUBARU OF AMERICA, INC.
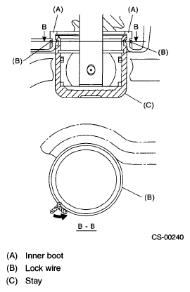
  10. Install a new lock wire.
    Fig 9: Identifying Lock Wire
    G05341920Courtesy of SUBARU OF AMERICA, INC.
    NOTE:
    • Install the lock wire to the stay groove.
    • Bend the extra wire to the same direction of lock wire winding.
      Fig 10: Identifying Lock Wire In Stay Groove
      G05341921Courtesy of SUBARU OF AMERICA, INC.
  11. Install the holder.

    Tightening torque: 1.3 N.m (0.13 kgf-m, 0.96 it-lb) 

    Fig 11: Identifying Holder
    G05341922Courtesy of SUBARU OF AMERICA, INC.
  12. Insert the reverse check cable into the boot hole.
  13. Insert the reverse check cable to the gear shift assembly, and affix with a band clip.
    NOTE:
    • Cut the excess band clip.
    • Make sure that the reverse check cable is inserted into the gear shift lever assembly without interspace.
  14. Attach the seat cushion and spring.
    Fig 12: Identifying Seat Cushion And Spring
    G05341923Courtesy of SUBARU OF AMERICA, INC.
  15. Using the spring pin, fix the end of reverse check cable and slider.
    NOTE: Apply grease to the moving part of slider.
    Fig 13: Identifying Spring Pin And Slider
    G05341924Courtesy of SUBARU OF AMERICA, INC.
  16. With the cable pulled (the slider is lowered), adjust the distance between the edge of cable plate and the reverse check cable to 84 mm (3.31 in), and tighten the lock nut.

    Tightening torque: 6 N.m (0.6 kgf-m, 4.4 ft-lb) 

    Fig 14: Identifying Distance Between Edge Of Cable Plate And Reverse Check Cable (84 mm)
    G05341925Courtesy of SUBARU OF AMERICA, INC.
  17. Fix the reverse check cable to the stay clip.
    NOTE: Install the reverse check cable on top of the stay.
    Fig 15: Identifying Reverse Check Cable And Clip
    G05341926Courtesy of SUBARU OF AMERICA, INC.