LEMON Manuals: Even more car manuals for everyone
Home >> Subaru >> 2007 >> Outback i, Automatic >> Repair and Diagnosis >> Transmission >> Transmission Control Systems >> A/T Control Systems >> AT Shift Lock Control System >> Wiring Diagram

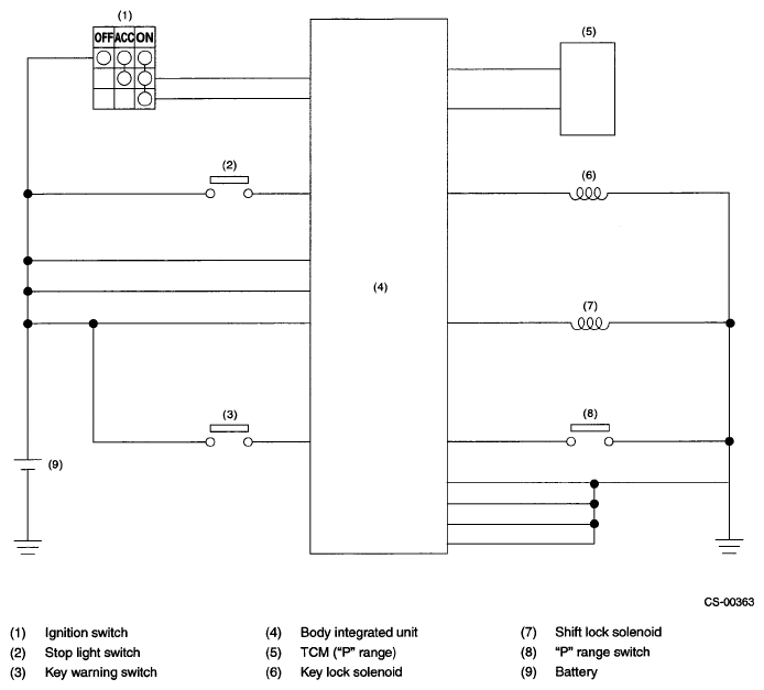
AT Shift Lock Control System: Wiring Diagram

Fig 1: AT Shift Lock Control System Wiring Diagram
G05341790Courtesy of SUBARU OF AMERICA, INC.