LEMON Manuals: Even more car manuals for everyone
Home >> Subaru >> 2006 >> Outback XT, Automatic >> Repair and Diagnosis >> Transmission >> Transmission Control Systems >> A/T & M/T Control Systems >> MT Gear Shift Lever >> Assembly

MT Gear Shift Lever: Assembly

NOTE:
  • Clean all the parts before assembly.
  • Apply grease [SUNLIGHT 2 (Part No. 003602010) or equivalent] to each part.
  1. Mount the bushing and cushion rubber to the stay.
    Fig 1: Identifying Bushing And Cushion Rubber
    G05019740
  2. Install the bushing and spacer to boss.
    Fig 2: Identifying Bushing And Spacer
    G05019741
  3. Using new self-locking nuts, install the boss to the joint.

    Tightening torque: 18 N.m (1.8 kgf-m, 13.3 ft-lb) 

    Fig 3: Identifying Boss
    G05002348
  4. Install the snap ring to gear shift lever and install the bushing.
    NOTE: Apply grease to the bushing.
    Fig 4: Identifying Snap Ring
    G05019743
  5. Apply grease to the bushing and O-ring, and then install to gear shift lever.
    Fig 5: Identifying Gear Shift Lever Bushing
    G05019744
  6. Apply sufficient grease into boss, and then install the gear shift lever to the stay.
    Fig 6: Identifying Gear Shift Lever And Stay
    G05002345
  7. Install the washer and snap ring.
    Fig 7: Identifying Washer And Snap Ring
    G05019746
  8. Insert the gear shift lever and rod into boot hole
  9. Install the rod.

    Tightening torque: 12 N.m (1.2 kgf-m, 8.9 ft-lb) 

    Fig 8: Identifying Gear Shift Lever And Rod
    G05019747
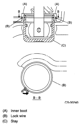
  10. Install a new lock wire.
    Fig 9: Identifying Lock Wire
    G05019748
    NOTE:
    • Install the lock wire to the stay groove.
    • Bend the extra wire to the same direction of lock wire winding.
      Fig 10: Identifying Inner Boot And Lock Wire
      G05019749