LEMON Manuals: Even more car manuals for everyone
Home >> Subaru >> 2006 >> Outback R >> Repair and Diagnosis (Single Page) >> Engine Performance >> System >> Diagnostic Trouble Code (DTC) Detecting Criteria (H6DO) >> Diagnostic Trouble Code (DTC) Detecting Criteria >> DTC P0447 Evaporative Emission Control System Vent Control Circuit Open >> Component Description

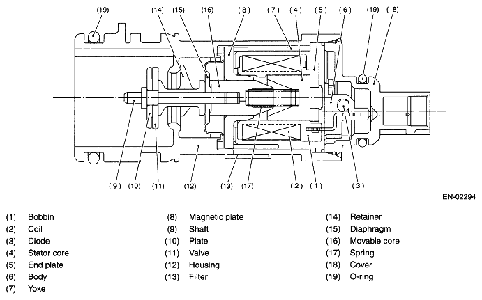
Component Description

Fig 1: Identifying Evaporative Emission Control System Components
G05019199