LEMON Manuals: Even more car manuals for everyone
Home >> Subaru >> 2006 >> Outback R >> Repair and Diagnosis (Single Page) >> Engine Performance >> System >> Diagnostic Trouble Code (DTC) Detecting Criteria (H6DO) >> Diagnostic Trouble Code (DTC) Detecting Criteria >> DTC P0327 Knock Sensor 1 Circuit Low (Bank 1 Or Single Sensor) >> Component Description

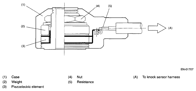
Component Description

Fig 1: Identifying Knock Sensor Components
G05019178