LEMON Manuals: Even more car manuals for everyone
Home >> Subaru >> 2006 >> Outback R >> Repair and Diagnosis (Single Page) >> Engine Performance >> System >> Diagnostic Trouble Code (DTC) Detecting Criteria (H4SO) >> Diagnostic Trouble Code (DTC) Detecting Criteria >> DTC P0448 Evaporative Emission Control System Vent Control Circuit Shorted >> Component Description

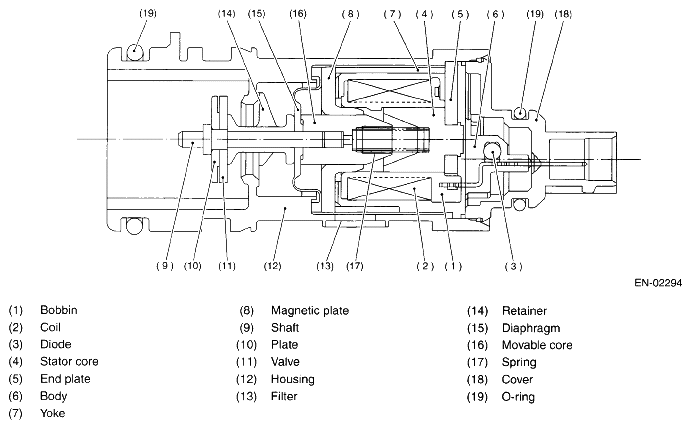
Component Description

Fig 1: Cross Sectional View Of Evaporative Emission Control System Vent Control
G05017688