LEMON Manuals: Even more car manuals for everyone
Home >> Subaru >> 2005 >> Outback XT, Automatic >> Repair and Diagnosis >> Transmission >> Transmission Control Systems >> A/T & M/T Control Systems >> MT Gear Shift Lever >> Installation

MT Gear Shift Lever: Installation

  1. Install the joint to transmission and secure with spring pin.
  2. Insert the gear shift lever from the room side.
    NOTE: Insert the rod and the stay, and then temporarily set them onto transmission mount.
    Fig 1: Inserting Gear Shift Lever
    G03831092Courtesy of SUBARU OF AMERICA, INC.
  3. Lift-up the vehicle.
  4. Mount the cushion rubber on the vehicle body.

    Tightening torque: 

    18 N.m (1.8 kgf-m, 13.3 ft-lb) 

    Fig 2: Identifying Mounting Cushion Rubber
    G03831093Courtesy of SUBARU OF AMERICA, INC.
  5. Using new self-locking nuts, connect the rod to the joint.

    Tightening torque: 

    18 N.m (1.8 kgf-m, 13.3 ft-lb) 

    Fig 3: Connecting Rod To Joint
    G03831094Courtesy of SUBARU OF AMERICA, INC.
  6. Using new self-locking nuts, connect the stay to transmission bracket.

    Tightening torque: 

    18 N.m (1.8 kgf-m, 13.3 ft-lb) 

    Fig 4: Connecting Stay To Transmission Bracket
    G03831095Courtesy of SUBARU OF AMERICA, INC.
  7. Install the heat shield cover.
    Fig 5: Installing Heat Shield Cover
    G03831096Courtesy of SUBARU OF AMERICA, INC.
  8. Install the rear exhaust pipe and muffler.
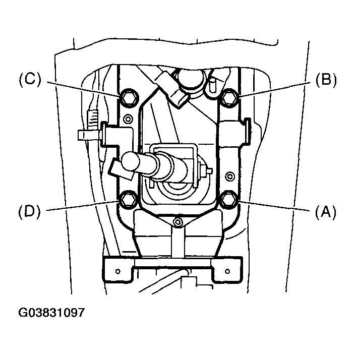
  9. Install the plate assembly to vehicle body.

    Tightening torque: 

    18 N.m (1.8 kgf-m, 13.3 ft-lb) 

    1. Set the plate assembly to vehicle.
    2. Temporarily tighten the bolt (A).
    3. Tighten the bolt (B).
    4. Tighten the bolt (A).
    5. Tighten the bolts (C) and (D).
    Fig 6: Tightening Bolts
    G03831097Courtesy of SUBARU OF AMERICA, INC.
  10. Install the harness clamp to plate.
  11. Install the boot and insulator assembly, and secure them with clamp.
    Fig 7: Installing Boot And Insulator Assembly
    G03831098Courtesy of SUBARU OF AMERICA, INC.
  12. Install the console box. < Ref. to INSTALLATION , Console Box. >