LEMON Manuals: Even more car manuals for everyone
Home >> Subaru >> 2005 >> Outback XT, Automatic >> Repair and Diagnosis >> Transmission >> Transmission Control Systems >> A/T & M/T Control Systems >> MT Gear Shift Lever >> Assembly

MT Gear Shift Lever: Assembly

NOTE:
  • Clean all the parts before assembly.
  • Apply grease [SUNLIGHT 2 (Part No. 003602010) or equivalent] to each part.
  1. Mount the bushing and cushion rubber on the stay.
    Fig 1: Removing Mounting Bushing And Cushion Rubber
    G03831108Courtesy of SUBARU OF AMERICA, INC.
  2. Install the bushing and spacer to boss.
    Fig 2: Installing Bushing And Spacer To Boss
    G03831109Courtesy of SUBARU OF AMERICA, INC.
  3. Using new self-locking nuts, install the boss to the joint.

    Tightening torque: 

    18 N.m (1.8 kgf-m, 13.3 ft-lb) 

    Fig 3: Installing Boss To Joint Using Self-Locking Nuts
    G03831110Courtesy of SUBARU OF AMERICA, INC.
  4. Install the snap ring to gear shift lever and install the bushing.
    NOTE: Apply grease to the bushing.
    Fig 4: Installing Snap Ring And Bush
    G03831111Courtesy of SUBARU OF AMERICA, INC.
  5. Apply grease to the bushing and O-ring, and then install to the gear shift lever.
    Fig 5: Applying Grease Bushing And O-Ring, Then Installing Shift Lever
    G03831112Courtesy of SUBARU OF AMERICA, INC.
  6. Apply sufficient grease into boss, and then install the gear shift lever to the stay.
    Fig 6: Applying Grease Installing Gear Shift Lever To Stay
    G03831113Courtesy of SUBARU OF AMERICA, INC.
  7. Install the washer and snap ring.
    Fig 7: Installing Washer And Snap Ring
    G03831114Courtesy of SUBARU OF AMERICA, INC.
  8. Insert the gear shift lever and rod into boot hole.
  9. Install the rod.

    Tightening torque: 

    12 N.m (1.2 kgf-m, 8.9 ft-lb) 

    Fig 8: Inserting Gear Shift Lever And Rod Into Boot Hole
    G03831115Courtesy of SUBARU OF AMERICA, INC.
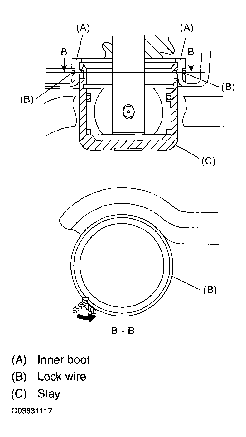
  10. Install a new lock wire.
    Fig 9: Installing Lock Wire
    G03831116Courtesy of SUBARU OF AMERICA, INC.
NOTE:
  • Install the lock wire to the stay groove.
  • Bend the extra wire to same direction of lock wire winding.
Fig 10: Installing Lock Wire To Stay Groove
G03831117Courtesy of SUBARU OF AMERICA, INC.