LEMON Manuals: Even more car manuals for everyone
Home >> Subaru >> 2005 >> Outback R >> Repair and Diagnosis (Single Page) >> Engine Performance >> Testing & Diagnosis >> Diagnostic Trouble Code (DTC) Detecting Criteria (H6DO) >> Diagnostic Trouble Code (DTC) Detecting Criteria >> DTC P0134 O2 Sensor Circuit No Activity Detected (Bank 1 Sensor 1) >> Component Description

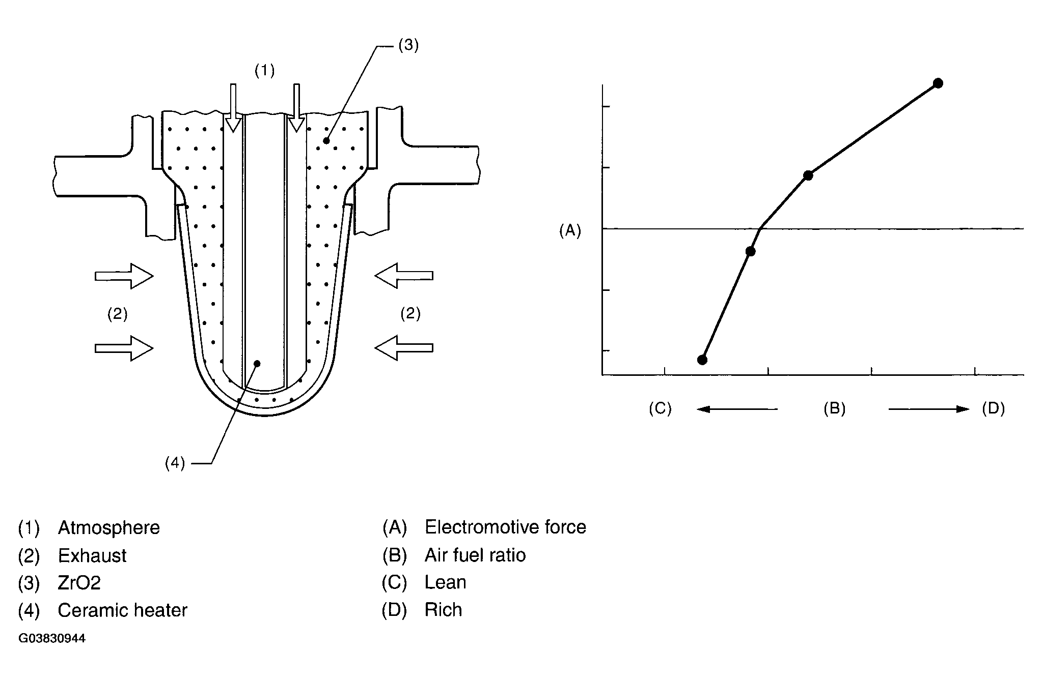
Component Description

Fig 1: DTC P0134 O2 Sensor Circuit No Activity Detected
G03830944Courtesy of SUBARU OF AMERICA, INC.