LEMON Manuals: Even more car manuals for everyone
Home >> Subaru >> 2005 >> Baja Base, Automatic >> Repair and Diagnosis >> Engine Performance >> Engine Control Systems >> Speed Control Systems (H4SO) >> Accelerator Pedal >> Adjustment

Accelerator Pedal: Adjustment

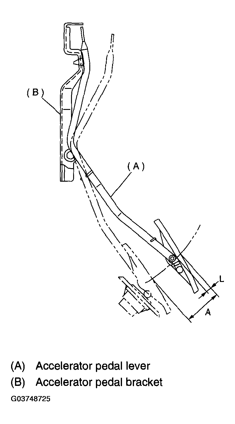
  1. Check pedal stroke and free play by operating accelerator pedal by hand.
  2. If it is not within specified value, adjust it by turning accelerator cable lock nut.

    Free play at pedal pad: L 

    0 - 4 mm (0 - 0.16 in) 

    Stroke at pedal pad: A 

    50 - 55 mm (1.97 - 2.17 in) 

    Fig 1: Checking Pedal Free Play & Stroke
    G03748725Courtesy of SUBARU OF AMERICA, INC.

    Accelerator cable lock nut tightening torque: 

    12 N.m (1.2 kgf-m, 9 ft-lb)