LEMON Manuals: Even more car manuals for everyone
Home >> Subaru >> 2005 >> Baja Base, Automatic >> Repair and Diagnosis >> Engine Performance >> Engine Control Systems >> Fuel Injection (Fuel Systems) >> Fuel Filler Pipe >> Installation

Fuel Filler Pipe: Installation

  1. Hold fuel filler flap open.
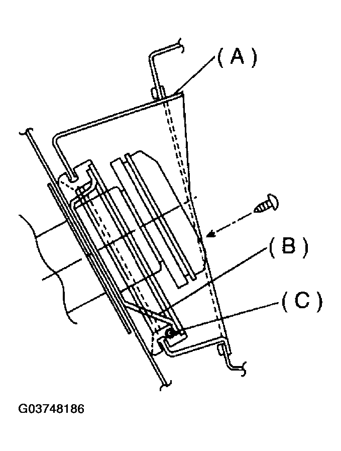
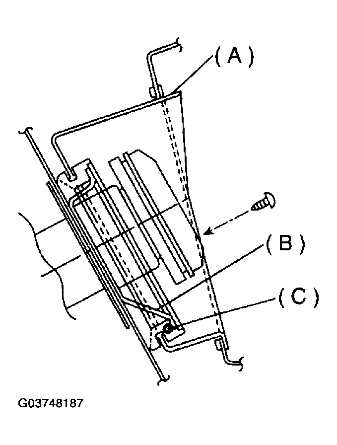
  2. Set fuel saucer (A) with rubber packing (C) and insert fuel filler pipe into hole from the inner side of apron.
    Fig 1: Setting Fuel Saucer With Rubber Packing And Inserting Fuel Filler Pipe Into Hole
    G03748186Courtesy of SUBARU OF AMERICA, INC.
  3. Align holes in fuel filler pipe neck and set cup (B), and tighten screws.
    NOTE: If edges of rubber packing are folded toward the inside, straighten it with a screwdriver.
    Fig 2: Aligning Holes In Fuel Filler Pipe Neck And Set Cup And Tightening Screws
    G03748187Courtesy of SUBARU OF AMERICA, INC.
  4. Tighten bolt which holds fuel filler pipe on body.

    Tightening torque: 

    7.5 N.m (0.75 kgf-m, 5.4 ft-lb) 

    Fig 3: Tightening Bolt Holding Fuel Filler Pipe On Body
    G03748188Courtesy of SUBARU OF AMERICA, INC.
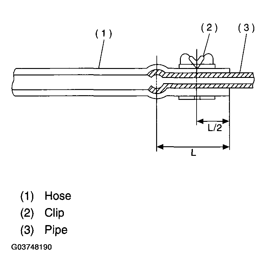
  5. Insert evaporation hose approximately 25 to 30 mm (0.98 to 1.18 in) into the lower end of evaporation pipe and hold clip.
    Fig 4: Inserting Evaporation Hose Into Evaporation Pipe Lower End
    G03748189Courtesy of SUBARU OF AMERICA, INC.

    L = 27.5+/-2.5 mm (1.083+/-0.098 in) 

    Fig 5: Identifying Hose Dimensions
    G03748190Courtesy of SUBARU OF AMERICA, INC.
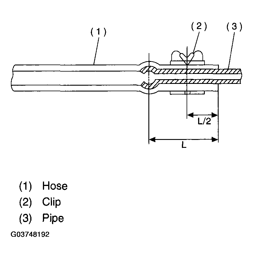
  6. Insert canister hoses approximately 25 to 30 mm (0.98 to 1.18 in) into the lower end of evaporation pipe assembly and tighten clamp.
    Fig 6: Inserting Canister Hoses Into Evaporation Pipe Assembly Lower End
    G03748191Courtesy of SUBARU OF AMERICA, INC.

    L = 27.5+/-2.5 mm (1.083+/-0.098 in) 

    Fig 7: Identifying Hose Dimensions
    G03748192Courtesy of SUBARU OF AMERICA, INC.
  7. Tighten bolt which holds evaporation pipe assembly on body.

    Tightening torque: 

    7.5 N.m (0.75 kgf-m, 5.4 ft-lb) 

    Fig 8: Tightening Bolt Holding Evaporation Pipe Assembly On Body
    G03748193Courtesy of SUBARU OF AMERICA, INC.
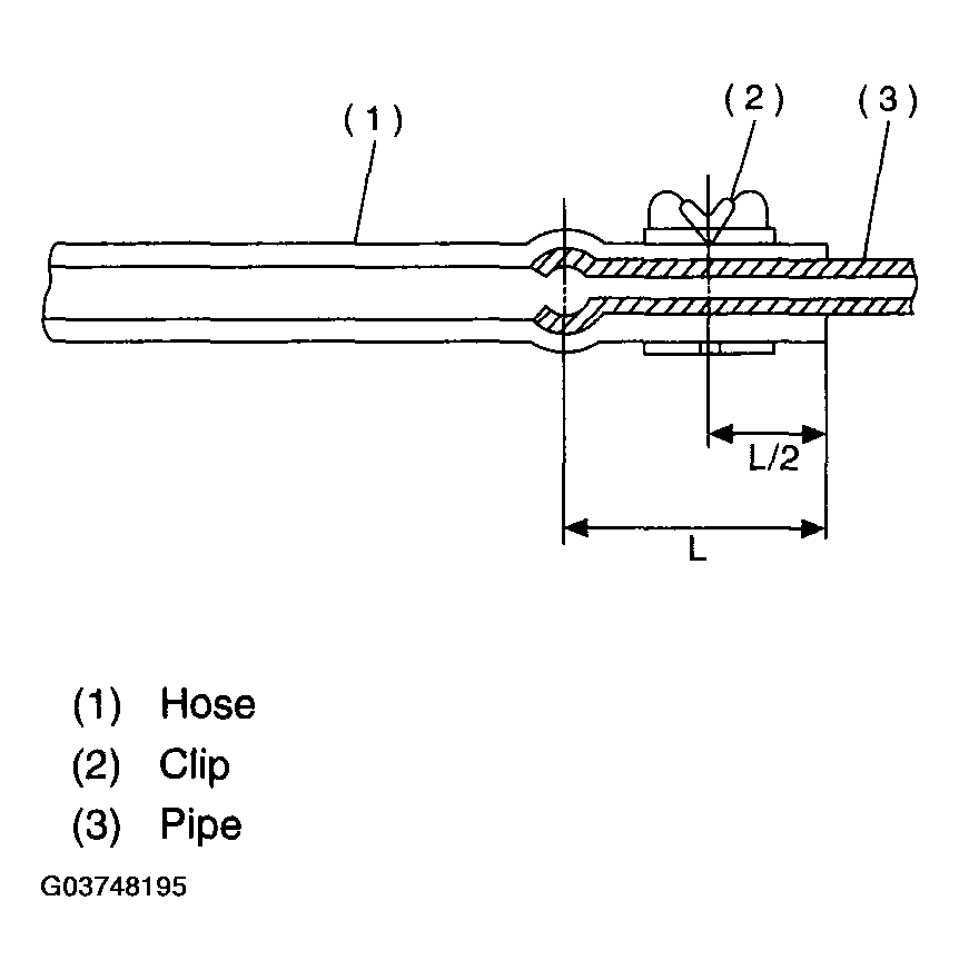
  8. Insert air vent hose (A), evaporation hose (B) approximately 25 to 30 mm (0.98 to 1.18 in) into the lower end of evaporation pipe assembly and hold clip.
  9. Insert evaporation hose (C) to pressure control solenoid valve and hold clip.
    Fig 9: Inserting Evaporation Hose To Pressure Control Solenoid Valve
    G03748194Courtesy of SUBARU OF AMERICA, INC.

    L = 27.5+/-2.5 mm (1.083+/-0.098 in) 

    Fig 10: Identifying Evaporation Hose Dimensions
    G03748195Courtesy of SUBARU OF AMERICA, INC.
  10. Tighten bolt which holds fuel filler pipe on body and tighten bolt which holds fuel pressure sensor on fuel filler pipe.

    Tightening torque: 

    7.5 N.m (0.75 kgf-m, 5.4 ft-lb) 

  11. Insert fuel filler hose approximately 35 to 40 mm (1.38 to 1.57 in) over the lower end of fuel filler pipe and tighten clamp.
    Fig 11: Inserting Fuel Filler Hose Over Fuel Filler Pipe Lower End
    G03748196Courtesy of SUBARU OF AMERICA, INC.
  12. Jack-up the rear sub frame and tighten bolts which hold rear sub frame on body.

    Tightening torque: 

    T1: 66 N.m (6.7 kgf-m, 48.5 ft-lb) 

    T2: 172 N.m (17.5 kgf-m, 127 ft-lb) 

    Fig 12: Identifying Fuel Filler Hose Dimension
    G03748197Courtesy of SUBARU OF AMERICA, INC.
  13. Tighten bolt which holds rear shock absorber to rear suspension arm. < Ref. to INSTALLATION , Rear Shock Absorber. >

    Tightening torque: 

    157 N.m (16 kgf-m, 116 ft-lb) 

    Fig 13: Tightening Bolt Holding Rear Shock Absorber To Rear Suspension Arm
    G03748198Courtesy of SUBARU OF AMERICA, INC.
  14. Install heat shield cover.
    Fig 14: Installing Heat Shield Cover
    G03748199Courtesy of SUBARU OF AMERICA, INC.
  15. Install rear exhaust pipe and muffler.
    NOTE: To facilitate the procedure, apply a coat of SUBARU CRC to matching area of rubber cushions in advance.

    SUBARU CRC (Part No. 004301003) 

    1. Install left and right rubber cushions.
      Fig 15: Installing Left And Right Rubber Cushions
      G03748200Courtesy of SUBARU OF AMERICA, INC.
    2. Install front rubber cushion and attach muffler assembly.
      Fig 16: Installing Front Rubber Cushion And Attaching Muffler Assembly
      G03748201Courtesy of SUBARU OF AMERICA, INC.
    3. Install rear exhaust pipe to center exhaust pipe.

      Tightening torque: 

      18 N.m (1.8 kgf-m, 13.0 ft-lb) 

      Fig 17: Installing Rear Exhaust Pipe To Center Exhaust Pipe
      G03748202Courtesy of SUBARU OF AMERICA, INC.
  16. Install fuel filler pipe protector.
    Fig 18: Installing Fuel Filler Pipe Protector
    G03748203Courtesy of SUBARU OF AMERICA, INC.
  17. Install rear right wheel.
    Fig 19: Installing Rear Right Wheel
    G03748204Courtesy of SUBARU OF AMERICA, INC.
  18. Lower the vehicle.
  19. Tighten wheel nuts.
  20. Connect battery ground cable.
    Fig 20: Connecting Battery Ground Cable
    G03748205Courtesy of SUBARU OF AMERICA, INC.
  21. Remove fuel filler pipe to under side of the vehicle.