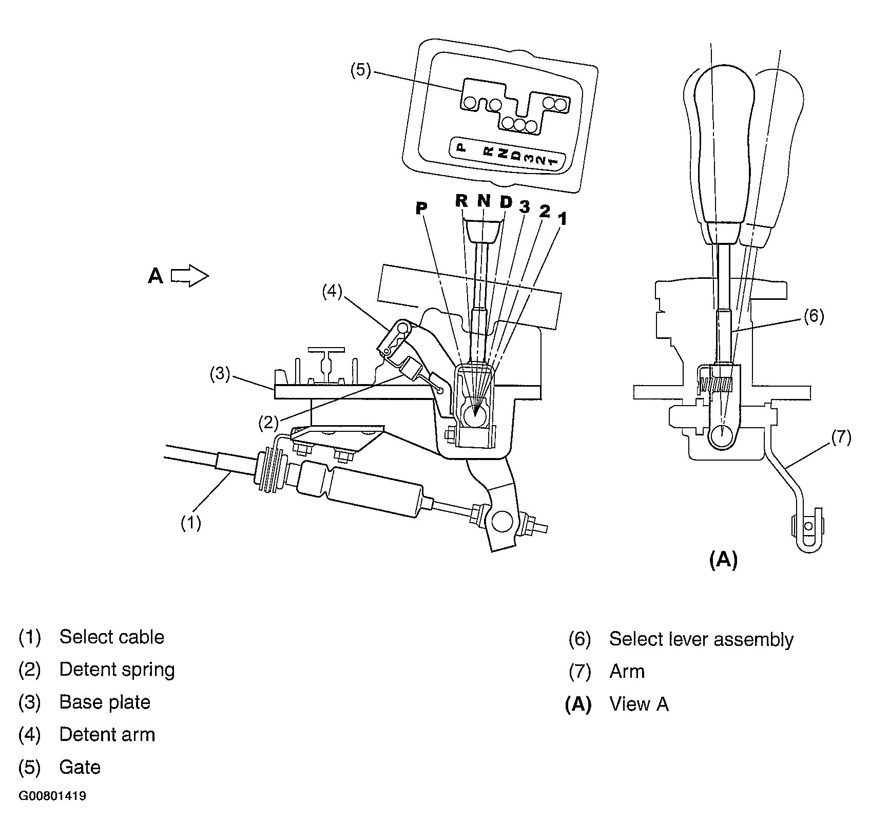
Select Lever
- The automatic transmission's select lever moves through seven positions.
- The select lever makes shift direction (longitudinal) movements as well as select direction (lateral) movements. The select lever is guided by a gate to make these movements.
- To transmit movements of the select lever to the transmission, a select cable is used.
- The select lever mechanism has a detent spring and a detent arm. It ensures more precise positioning of the select lever.
Courtesy of SUBARU OF AMERICA, INC.