LEMON Manuals: Even more car manuals for everyone
Home >> Subaru >> 2004 >> Baja Base, Automatic >> Repair and Diagnosis >> Transmission >> Transmission Control Systems >> A/T & M/T Control Systems >> AT Shift Lock System >> Schematic

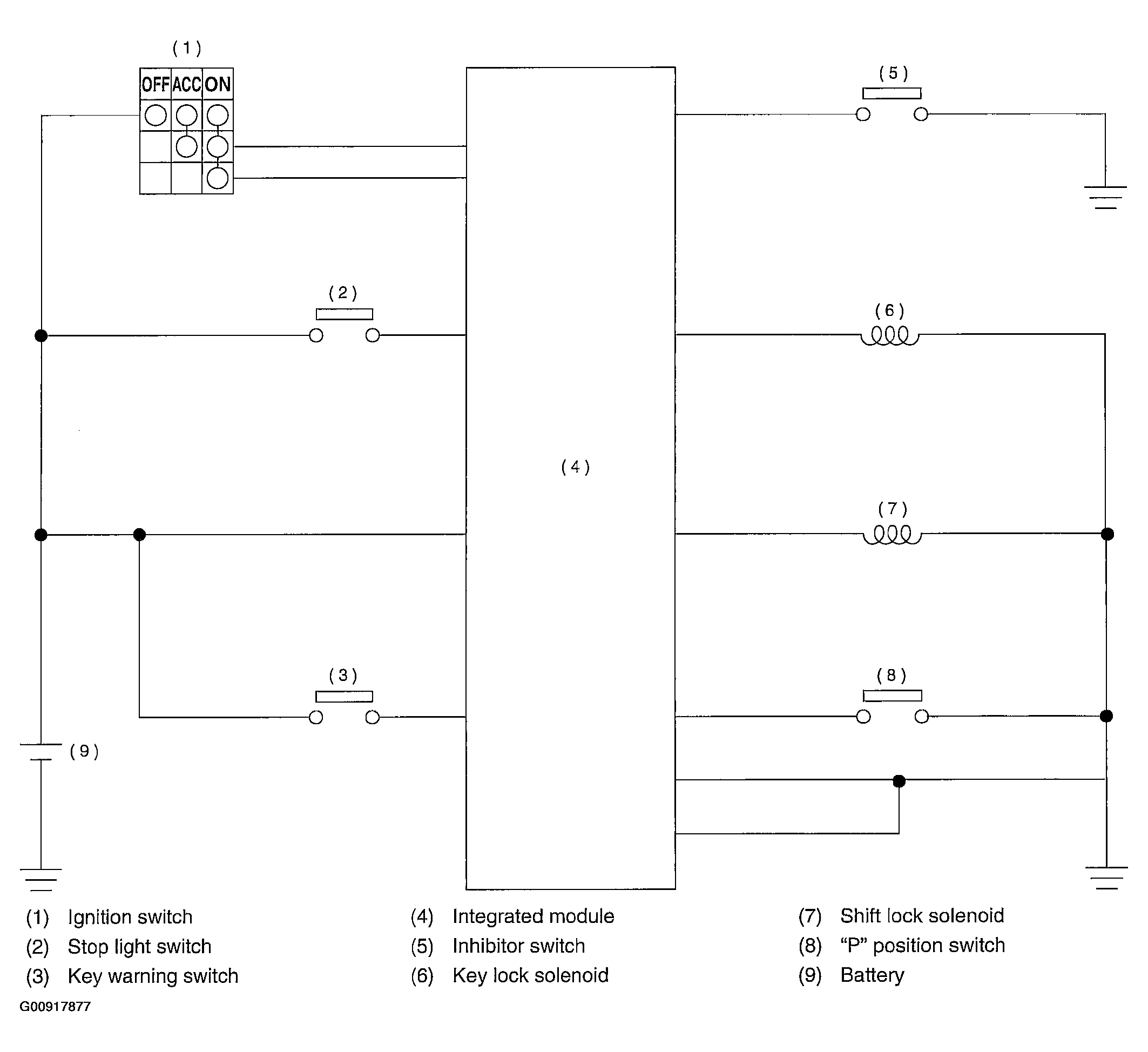
AT Shift Lock System: Schematic

Fig 1: Schematic Diagram
G00917877Courtesy of SUBARU OF AMERICA, INC.