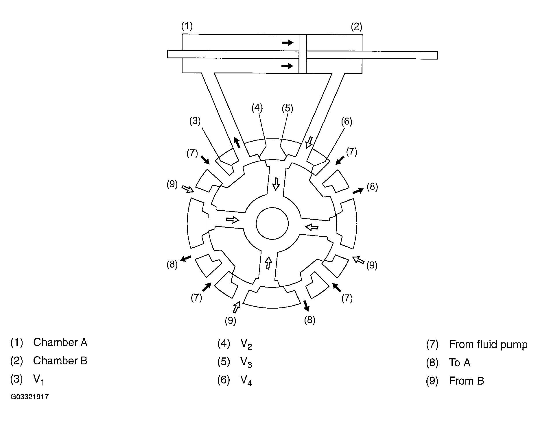
Rotary Control Valve
The rotary control valve consists of a rotor (which rotates together with the steering shaft), a pinion (which is connected to the rotor and torsion bar), and a sleeve (which rotates together with the pinion). The rotor and sleeve have grooves C and D, respectively, which form fluid passages V1 through V4 .
The pinion is in mesh with the rotor with adequate clearance, which enable the rack to be moved manually by rotating the steering shaft (fail-safe feature).
- Principle of operation
When the torsion bar is twisted by a rotational force applied to the steering wheel, the relative position between the rotor and sleeve changes. This changes the cross-sectional area of fluid passages V1 V2 , V3 and V4 . The fluid passages are thus switched and the fluid pressure is controlled in accordance with the operation of the steering wheel.
- When no steering force is applied:
The rotor and sleeve are held at the neutral position. Fluid passages V1 , V2 and V3 , which are formed by grooves C and D are open equally. Under this condition, the fluid from the pump returns to the reservoir tank so that neither fluid pressure builds up nor the rack piston moves in the power cylinder.
- When steering force is applied:
When the steering wheel is turned to the right, for example, fluid passages V1 and V3 are opened while fluid passages V2 and V4 are nearly closed.
At this point, the fluid pressure in chamber A of the power cylinder increases depending on the degree of closure of fluid passages V2 and V4 so that the rack piston moves to the right. The fluid in chamber B, on the other hand, is drained through fluid passage V3 into the reservoir tank.
- When no steering force is applied: