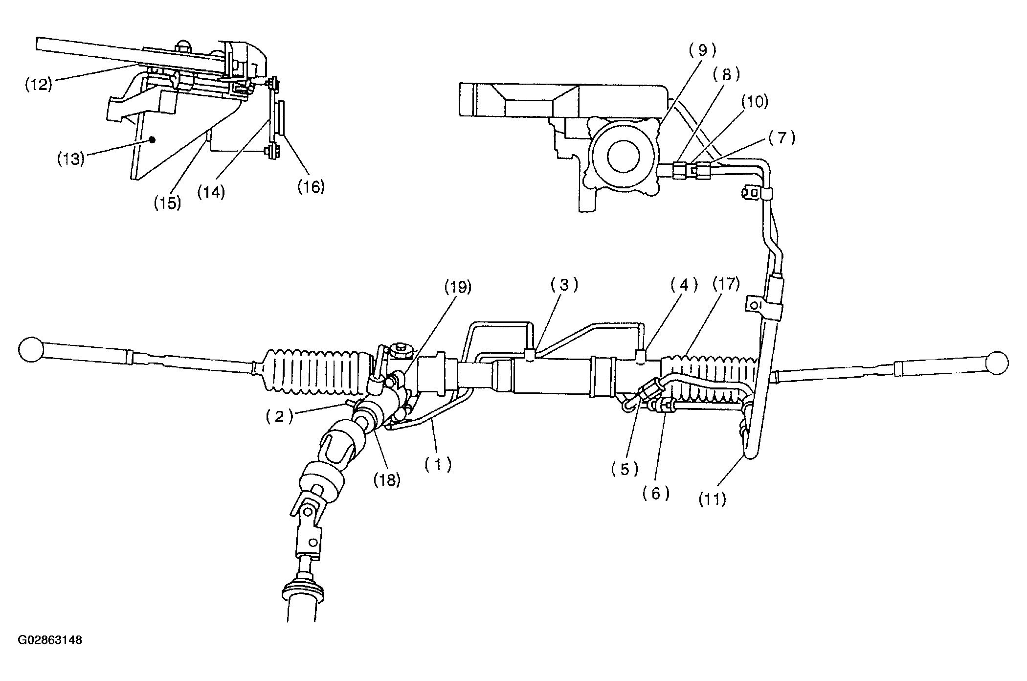
Pipe Assembly: Inspection
Check all disassembled parts for wear, damage or other abnormalities. Repair or replace faulty parts is required.
CAUTION:
Although surface layer materials of rubber hoses have excellent weathering resistance, heat resistance and resistance for low temperature brittleness, they are likely to be damaged chemically by brake fluid, battery electrolyte, engine oil and automatic transmission fluid and their service lives are to be very shortened. It is very important to keep the hoses free from before mentioned fluids and to wipe out immediately when the hoses are adhered with the fluids.
Since resistances for heat or low temperature brittleness are gradually declining according to time accumulation of hot or cold conditions for the hoses and their service lives are shortening accordingly, it is necessary to perform careful inspection frequently when the vehicle is used in hot weather areas, cold weather area and/or a driving condition in which many steering operations are required in short time.
Particularly continuous work of relief valve over 5 seconds causes to reduce service lives of the hoses, the oil pump, the fluid, etc. due to over heat. So, avoid to keep this kind of condition when servicing as well as driving.
Since resistances for heat or low temperature brittleness are gradually declining according to time accumulation of hot or cold conditions for the hoses and their service lives are shortening accordingly, it is necessary to perform careful inspection frequently when the vehicle is used in hot weather areas, cold weather area and/or a driving condition in which many steering operations are required in short time.
Particularly continuous work of relief valve over 5 seconds causes to reduce service lives of the hoses, the oil pump, the fluid, etc. due to over heat. So, avoid to keep this kind of condition when servicing as well as driving.
CAUTION:
It is likely that although one judges fluid leakage, there is actually no leakage. This is because the fluid spilt during the last maintenance was not completely wiped off. Be sure to wipe off spilt fluid thoroughly after maintenance.
NOTE:
Fluid level is specified at optimum position (range) for ordinary use. Accordingly, if the vehicle is used often under hard conditions such as on very rough roads or in mountainous areas, fluid may bleed out from cap air vent hole. This is not a problem. If a customer complains strongly and is not likely to be satisfied with the leakage, lower the fluid level to the extent that fluid will not bleed out under the conditions described, and have the customer check the fluid level and its quality more frequency than usual.