LEMON Manuals: Even more car manuals for everyone
Home >> Subaru >> 2002 >> Forester Base >> Repair and Diagnosis >> Engine Performance >> Engine Control Systems >> Fuel Injection (Fuel Systems) >> Knock Sensor >> Removal

Knock Sensor: Removal

  1. Disconnect battery ground cable from battery ground terminal.
    Fig 1: Disconnecting Battery Ground Cable
    G02861850Courtesy of SUBARU OF AMERICA, INC.
  2. Remove air cleaner case.
    Fig 2: Removing Air Cleaner Case
    G02861851Courtesy of SUBARU OF AMERICA, INC.
  3. Disconnect knock sensor connector.
    Fig 3: Disconnecting Knock Sensor Connector
    G02861852Courtesy of SUBARU OF AMERICA, INC.
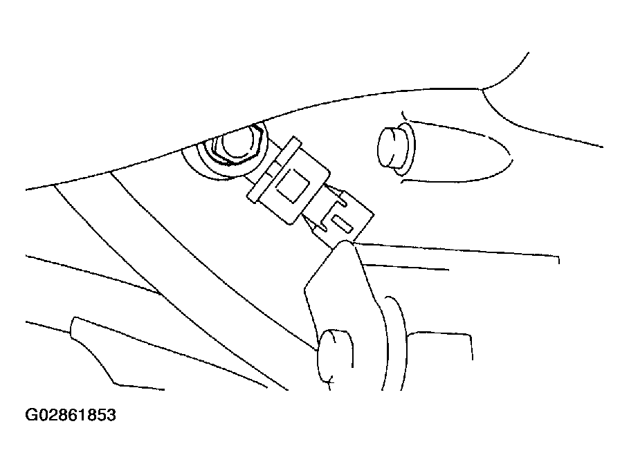
  4. Remove knock sensor from cylinder block.
    Fig 4: Removing Knock Sensor
    G02861853Courtesy of SUBARU OF AMERICA, INC.