LEMON Manuals: Even more car manuals for everyone
Home >> Subaru >> 2002 >> Forester Base >> Repair and Diagnosis >> Brakes >> Traction Control >> Abs >> General Description >> Component >> Abs Control Module And Hydraulic Control Unit (ABSCM & H/U)

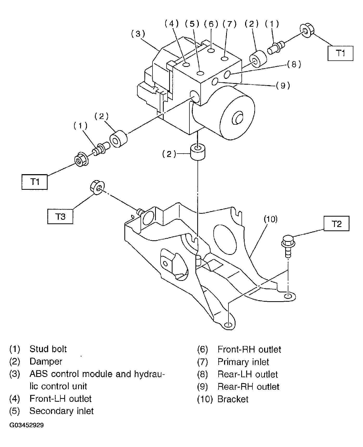
Abs Control Module And Hydraulic Control Unit (ABSCM & H/U)

Fig 1: Identifying ABS Control Module And Hydraulic Control Unit (ABSCM & H/U) Components
G03452929Courtesy of SUBARU OF AMERICA, INC.