LEMON Manuals: Even more car manuals for everyone
Home >> Subaru >> 2002 >> Forester Base >> Repair and Diagnosis (Single Page) >> Steering >> Power Steering >> Power Assisted System (Power Steering) - Mechanism & Function >> Power Steering System >> Gearbox Assembly >> Rotary Control Valve >> Principle Of Operation

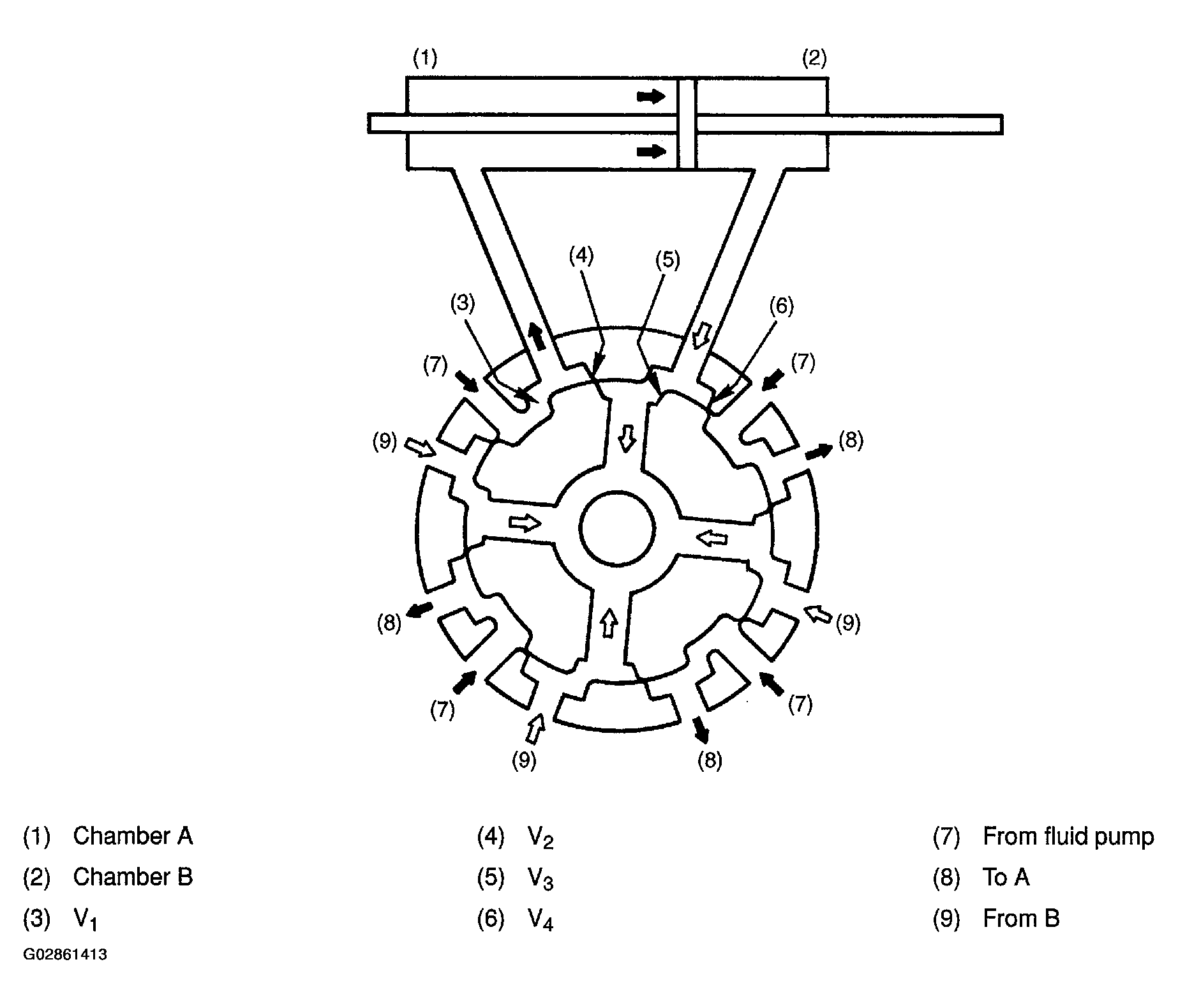
Principle Of Operation

When the torsion bar is twisted by a rotational force applied to the steering wheel, the relative position between the rotor and sleeve changes. This changes the cross-sectional area of fluid passages V-1 , V2 , V3 and V4 . The fluid passages are thus switched and the fluid pressure is controlled in accordance with the operation of the steering wheel.