LEMON Manuals: Even more car manuals for everyone
Home >> Subaru >> 2001 >> Forester Base >> Repair and Diagnosis >> Transmission >> Automatic Trans >> A/T Mechanism & Function >> Power Train >> P Range

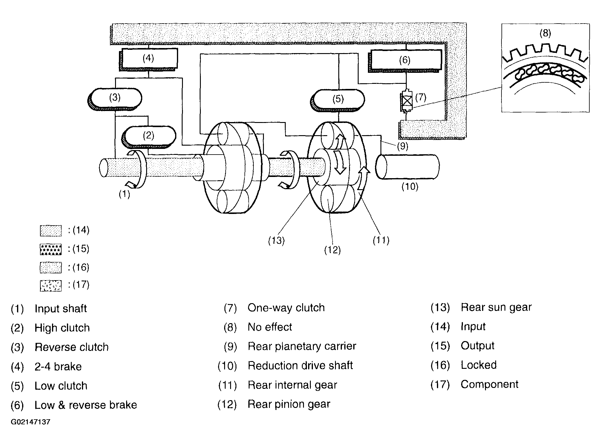
P Range

All controls do not operate, just as in the N range. The parking pawl locks the power train by pawling the parking gear which is integrated with the reduction drive gear.

Fig 1: P Range - Operation (1 Of 2)
G02147136
Fig 2: P Range - Operation (2 Of 2)
G02147137