LEMON Manuals: Even more car manuals for everyone
Home >> Subaru >> 2001 >> Forester Base >> Repair and Diagnosis >> Transmission >> Automatic Trans >> A/T Mechanism & Function >> On-Board Diagnostics System >> Operation Of Indicator Light

Operation Of Indicator Light

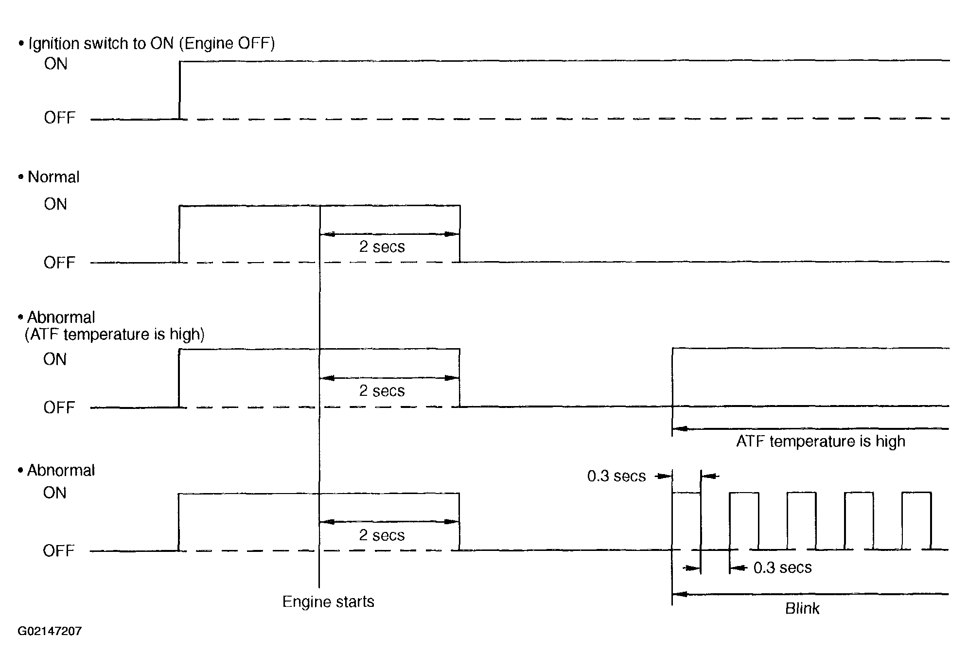
On starting the engine, AT OIL TEMP indicator light illuminates as shown below.

If any trouble occurs, the light continues flashing until ignition switch is turned to ON position (engine turned off).

Fig 1: Operation Of Indicator Light (At Oil Temp Indicator)
G02147207