LEMON Manuals: Even more car manuals for everyone
Home >> Subaru >> 2001 >> Forester Base >> Repair and Diagnosis >> Transmission >> Automatic Trans >> A/T Control Systems >> Service Procedure >> Gear Shift Lever >> Disassembly

Gear Shift Lever: Disassembly

  1. Disassemble locking wire.
    Fig 1: Removing Locking Wire
    G02003707
  2. Remove rod from gear shift lever.
    Fig 2: Removing Rod From Gear Shift Lever
    G02003708
  3. Remove snap ring from bush D, then disconnect stay.
    Fig 3: Removing Snap Ring From Bush "D"
    G02003709
  4. Remove boot from gear shift lever.
  5. Remove bush and cushion rubber from stay.
    Fig 4: Removing Bush & Cushion Rubber From Stay
    G02003710
  6. Remove O-ring, then disconnect bush D.
    Fig 5: Removing O-Ring & Disconnect Bush "D"
    G02003711
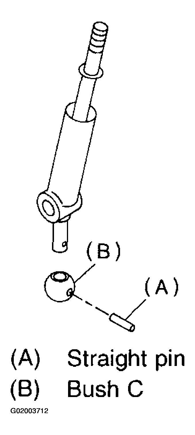
  7. Draw out straight pin, then remove bush C from gear shift lever.
    Fig 6: Removing Straight Pin & Removing Bush "C"
    G02003712