LEMON Manuals: Even more car manuals for everyone
Home >> Subaru >> 2001 >> Forester Base >> Repair and Diagnosis (Single Page) >> Transmission >> Automatic Trans >> A/T Mechanism & Function >> Transmission Control Module (TCM) >> Shift Control

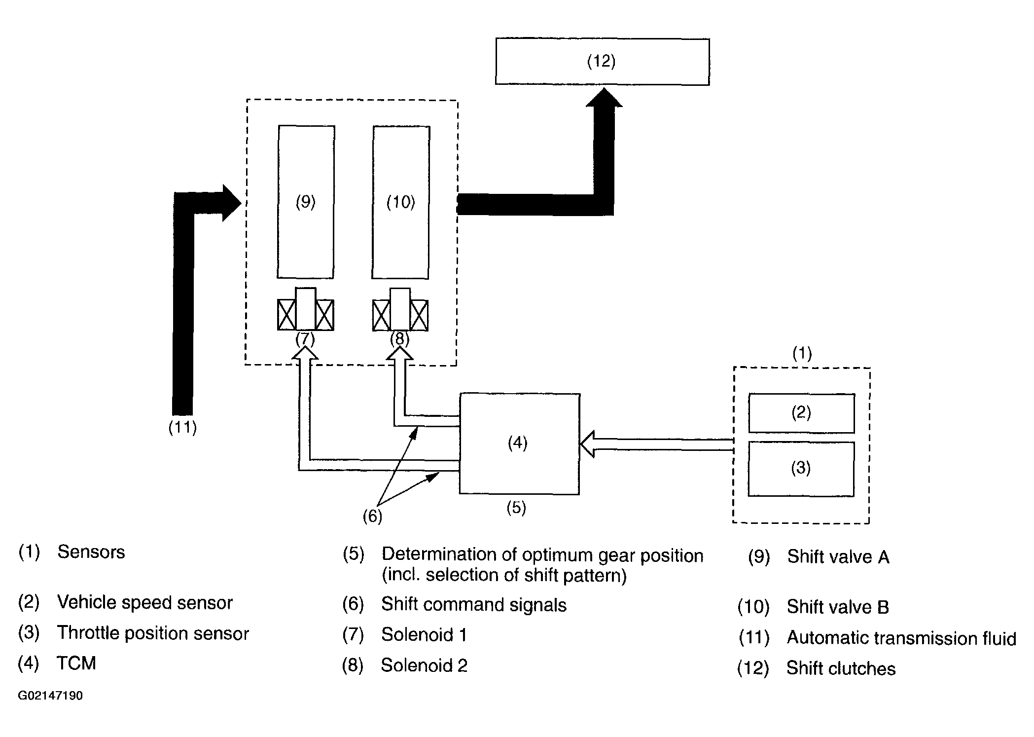
Shift Control

Gear shifting is controlled in response to driving conditions, according to the shift point characteristic data stored in the TCM. Solenoids are operated at the proper time corresponding to the shift pattern, throttle position, and vehicle speed for smooth shifting.

NOTE: When oil temperature is below approximately 10°C (50°F), the vehicle cannot be shifted to the 4th gear.
Fig 1: Shift Control (1 Of 3)
G02147188
Fig 2: Shift Control (2 Of 3)
G02147189