LEMON Manuals: Even more car manuals for everyone
Home >> Subaru >> 2001 >> Forester Base >> Repair and Diagnosis (Single Page) >> Brakes >> Traction Control >> Anti-Lock Braking System - Diagnostics >> Diagnostics Chart With Select Monitor >> Trouble Code 44 Abs-At Control (Non Controlled - Abs-At Control (Non Controlled)

Trouble Code 44 Abs-At Control (Non Controlled - Abs-At Control (Non Controlled)

DIAGNOSIS: 

TROUBLE SYMPTOM: 

WIRING DIAGRAM: 

Fig 1: Wiring Diagram
G02010993
  1. 10Y1: CHECK SPECIFICATIONS OF THE ABSCM & H/U. 

    Check specifications of the mark to the ABSCM & H/U.

    Fig 2: Identifying Mark On ABSCM & H/U
    G02010994
    Fig 3: Specifications On mark On ABSCM & H/U
    G02010995

    CHECK: Is an ABSCM & H/U for AT model installed on a MT model? 

    1. YES:  Replace ABSCM & H/U, see ABS CONTROL MODULE AND HYDRAULIC CONTROL UNIT (ABSCM & H/U)  .
    2. NO:  Go to step 10Y2. 
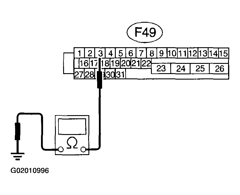
  2. 10Y2: CHECK GROUND SHORT OF HARNESS. 
    1. Turn ignition switch to OFF.
    2. Disconnect the two connectors from TCM.
    3. Disconnect connector from ABSCM & H/U.
    4. Measure resistance between ABSCM & H/U connector and chassis ground.

    Connector & terminal 

    1. (F49) No. 3 - Chassis ground: 
    Fig 4: Measuring Resistance Between ABSCM & H/U Connector & Chassis Ground
    G02010996

    CHECK: Is the resistance more than 1 M ohm ? 

    1. YES:  Go to step 10Y3. 
    2. NO:  Repair harness between TCM and ABSCM & H/U.
  3. 10Y3: CHECK TCM. 
    1. Connect all connectors to TCM.
    2. Turn ignition switch to ON.
    3. Measure voltage between TCM connector terminal and chassis ground.

    Connector & terminal 

    1. (B54) No. 19 (+) - Chassis ground (-): 
    Fig 5: Measuring Voltage Between TCM Connector Terminal & Chassis Ground
    G02010997

    CHECK: Is the voltage between 6 and 15 V? 

    1. YES:  Go to step  10Y5: CHECK OPEN CIRCUIT OF HARNESS .
    2. NO:  Go to step 10Y4. 
  4. 10Y4: CHECK AT. 

    CHECK: Is the AT functioning normally? 

    1. YES:  Replace TCM.
    2. NO:  Replace AT.
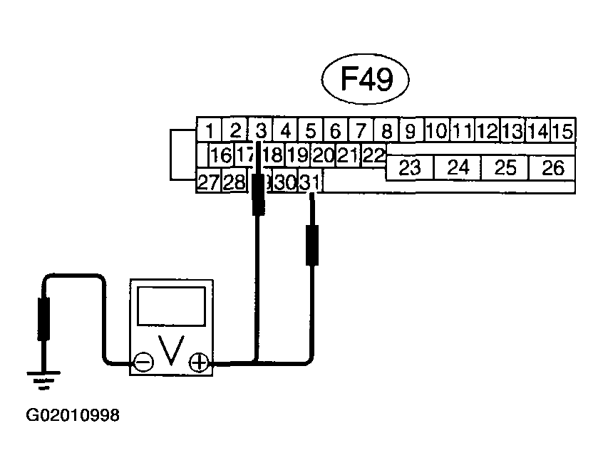
  5. 10Y5: CHECK OPEN CIRCUIT OF HARNESS. 

    Measure voltage between ABSCM & H/U connector and chassis ground.

    Connector & terminal 

    1. (F49) No. 3 (+) - Chassis ground (-): 
    2. (F49) No. 31 (+) - Chassis ground (-): 
    Fig 6: Measuring Voltage Between ABSCM & H/U Connector & Chassis Ground
    G02010998

    CHECK: Is the voltage between 5.5 and 15 V? 

    1. YES:  Go to step 10Y6. 
    2. NO:  Repair harness/connector between TCM and ABSCM & H/U.
  6. 10Y6: CHECK POOR CONTACT IN CONNECTORS. 

    CHECK: Is there poor contact in connectors between TCM and ABSCM & H/U? 

    1. YES:  Repair connector.
    2. NO:  Go to step 10Y7. 
  7. 10Y7:  CHECK ABSCM & H/U.
    1. Connect all connectors.
    2. Erase the memory.
    3. Perform inspection mode.
    4. Read out the trouble code.

    CHECK: Is the same trouble code as in the current diagnosis still being output? 

    1. YES:  Replace ABSCM & H/U, see ABS CONTROL MODULE AND HYDRAULIC CONTROL UNIT (ABSCM & H/U)  .
    2. NO:  Go to step 10Y8. 
  8. 10Y8: CHECK ANY OTHER TROUBLE CODES APPEARANCE. 

    CHECK: Are other trouble codes being output? 

    1. YES:  Proceed with the diagnosis corresponding to the trouble code.
    2. NO:  A temporary poor contact.