LEMON Manuals: Even more car manuals for everyone
Home >> Subaru >> 1994 >> Loyale Standard >> Repair and Diagnosis >> Engine Performance >> System >> Engine Controls - Tests W/Codes >> Diagnostic Code Testing >> Code 11 - Crank Angle Sensor, No Reference Signal

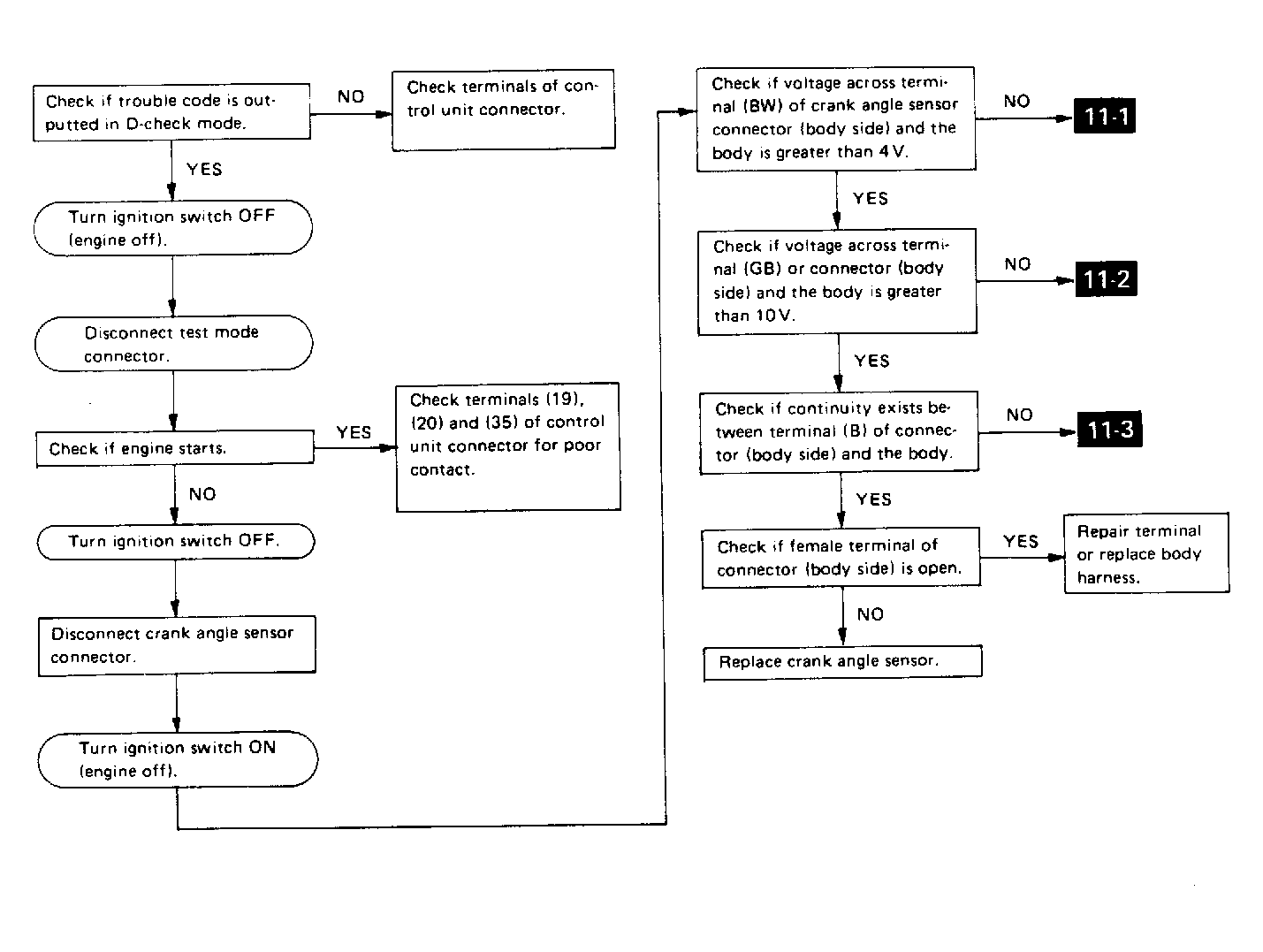
Code 11 - Crank Angle Sensor, No Reference Signal

Fig 1: Code 11 - Wiring Schematic
G91A18390Courtesy of SUBARU OF AMERICA, INC.
Fig 2: Code 11 - Diagnostic Flowchart (1 Of 2)
G90F21860Courtesy of SUBARU OF AMERICA, INC.
Fig 3: Code 11 - Diagnostic Flowchart (2 Of 2)
G90G21861Courtesy of SUBARU OF AMERICA, INC.