LEMON Manuals: Even more car manuals for everyone
Home >> Subaru >> 1992 >> SVX >> Repair and Diagnosis >> Engine Performance >> System >> Engine Controls - Tests W/Codes >> Diagnostic Code Charts >> Code 37: Oxygen (O2) Sensor No. 2

Code 37: Oxygen (O2) Sensor No. 2

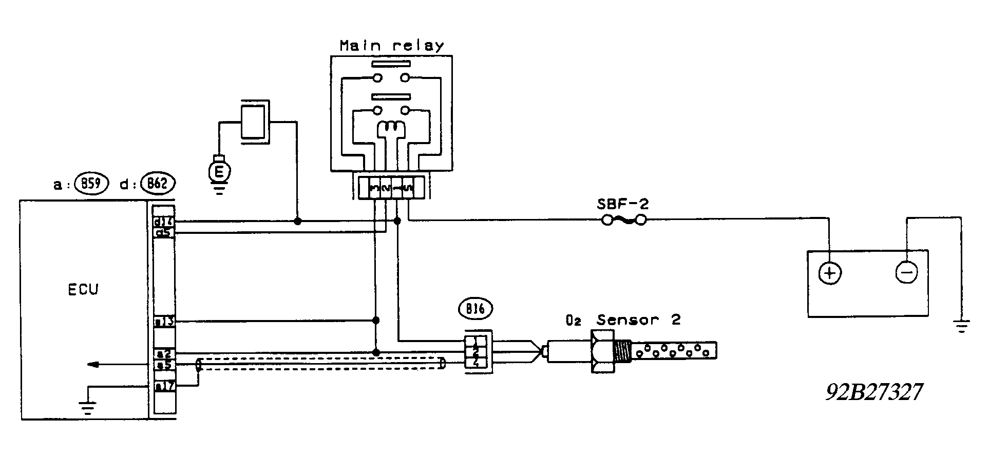
Fig 1: Schematic - Code 37, Oxygen (O2) Sensor No. 2
G92B27327
Fig 2: Flow Chart - Code 37, Oxygen (O2) Sensor No. 2
G92C26981