LEMON Manuals: Even more car manuals for everyone
Home >> Subaru >> 1992 >> SVX >> Repair and Diagnosis >> Engine Performance >> System >> Engine Controls - Tests W/Codes >> Diagnostic Code Charts >> Code 31: Throttle Position Sensor

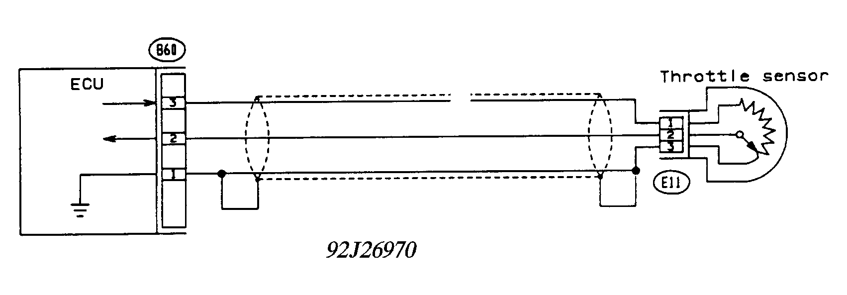
Code 31: Throttle Position Sensor

Fig 1: Schematic - Code 31, Throttle Position Sensor
G92J26970
Fig 2: Flow Chart - Code 31, Throttle Position Sensor
G92A26971