LEMON Manuals: Even more car manuals for everyone
Home >> Subaru >> 1992 >> SVX >> Repair and Diagnosis >> Engine Performance >> System >> Engine Controls - Tests W/Codes >> Diagnostic Code Charts >> Code 23: Airflow Sensor Circuit

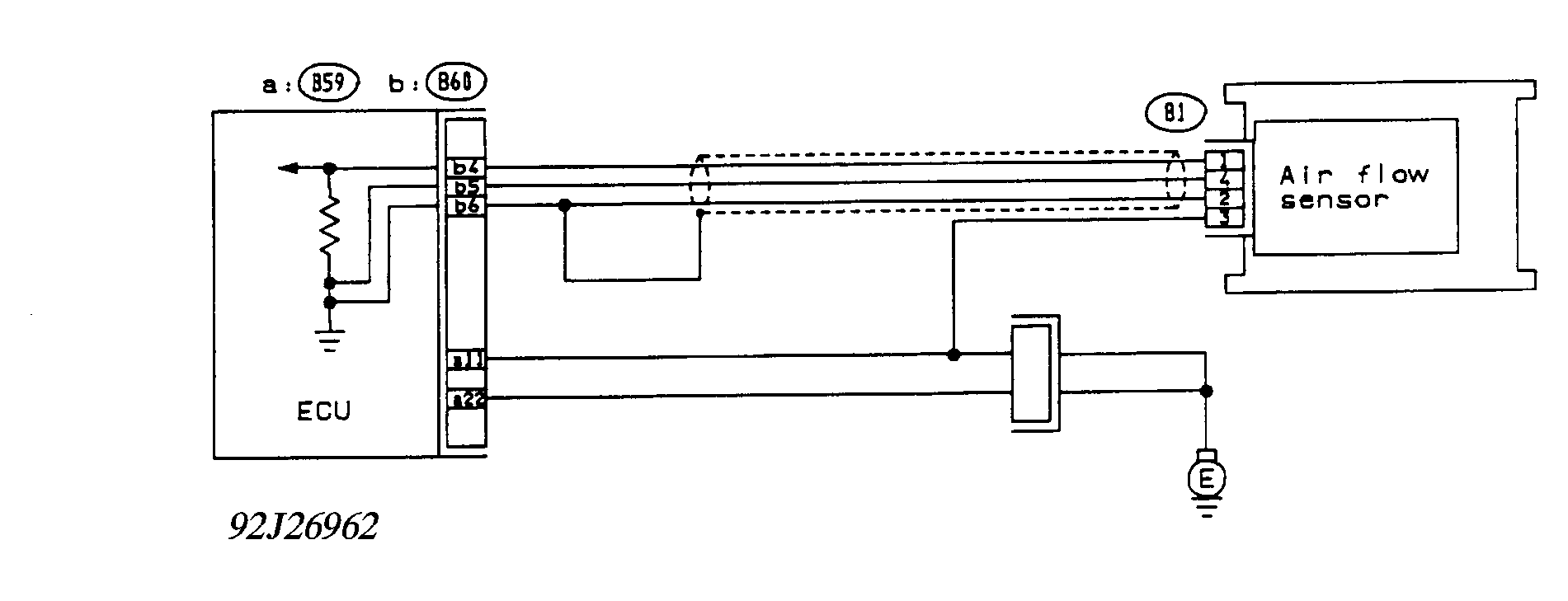
Code 23: Airflow Sensor Circuit

Fig 1: Schematic - Code 23, Airflow Sensor Circuit
G92J26962
Fig 2: Flow Chart - Code 23, Airflow Sensor Circuit
G92A26963