LEMON Manuals: Even more car manuals for everyone
Home >> Subaru >> 1992 >> Justy Base >> Repair and Diagnosis (Single Page) >> Engine Performance >> System >> Engine Controls - Basic Testing >> Fuel Pump Circuit Tests >> Notes

Fuel Pump Circuit Tests: Notes

Fig 1: Fuel Pump Ckt Test, Schematic
G118301Courtesy of SUBARU OF AMERICA, INC.
Fig 2: Fuel Pump Circuit Test, Flow Chart (1 of 3)
G121870Courtesy of SUBARU OF AMERICA, INC.
Fig 3: Justy Fuel Pump Circuit Test, Flow Chart (2 of 3)
G118302Courtesy of SUBARU OF AMERICA, INC.
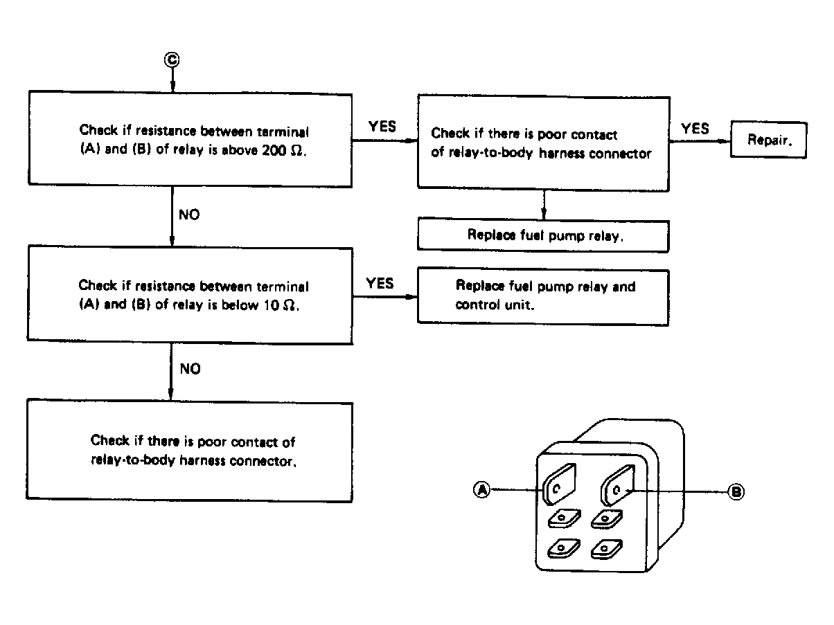
Fig 4: Justy Fuel Pump Circuit Test Flow Chart (3 of 3)
G118303Courtesy of SUBARU OF AMERICA, INC.