LEMON Manuals: Even more car manuals for everyone
Home >> Subaru >> 1991 >> XT Automatic >> Repair and Diagnosis >> Engine Performance >> System >> Engine Controls - Basic Testing >> LOYALE TBI Fuel Pump Circuit Tests

LOYALE TBI Fuel Pump Circuit Tests

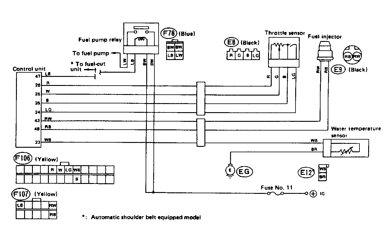
Fig 1: Loyale TBI Fuel Pump Circuit Schematic
G118309Courtesy of SUBARU OF AMERICA, INC.
Fig 2: Flow Chart (1 of 3) - Loyale TBI Fuel Pump Circuit
G121854Courtesy of SUBARU OF AMERICA, INC.
Fig 3: Flow Chart (2 of 3) - Loyale TBI Fuel Pump Circuit
G118310Courtesy of SUBARU OF AMERICA, INC.
Fig 4: Flow Chart (3 of 3) - Loyale TBI Fuel Pump Circuit
G121855Courtesy of SUBARU OF AMERICA, INC.