LEMON Manuals: Even more car manuals for everyone
Home >> Subaru >> 1991 >> Justy Base >> Repair and Diagnosis (Single Page) >> Engine Performance >> System >> Engine Controls - Tests W/Codes - PFI >> Diagnostic Code Chart >> Code 52: Clutch Switch (Fwd Man. Trans.)

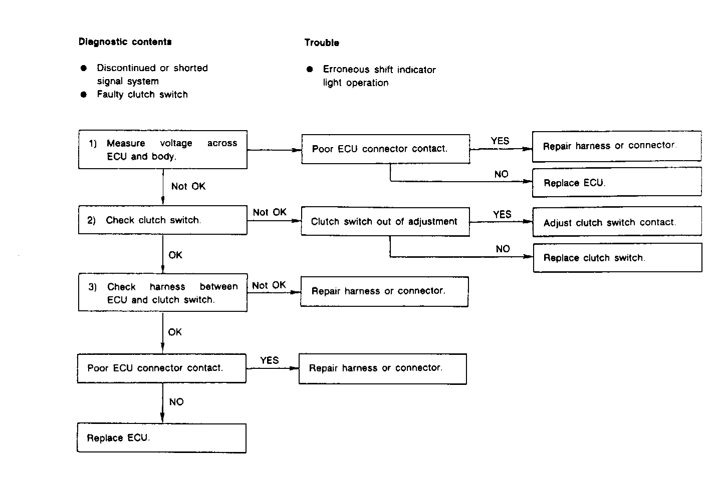
Code 52: Clutch Switch (Fwd Man. Trans.)

Fig 1: Schematic - Code 52, Clutch Switch (Man. Trans.)
G91D18344
Fig 2: Flow Chart - Code 52, Clutch Switch (Man. Trans.)
G90G18784