LEMON Manuals: Even more car manuals for everyone
Home >> Subaru >> 1987 >> XT GL, Standard >> Repair and Diagnosis >> Engine Performance >> System >> Ignition Control System >> Operation >> Fuel Injected >> Up-Shift Control System

Up-Shift Control System

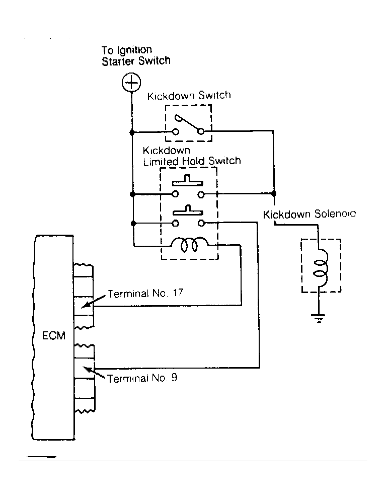
Shift-up control system is provided on auto. trans. equipped vehicles only and is used to reduce CO emissions by providing rapid engine warm-up. If engine is started while coolant temperature is in the preset temperature range, ECM holds transmission in a kickdown state for a certain duration of time. See Fig 1 .

Fig 1: Shift-Up Control System
G67263Courtesy of SUBARU OF AMERICA, INC.