LEMON Manuals: Even more car manuals for everyone
Home >> Subaru >> 1985 >> XT GL >> Repair and Diagnosis >> Engine Performance >> System >> Feedback Carburetor System >> Testing >> Trouble Code 62

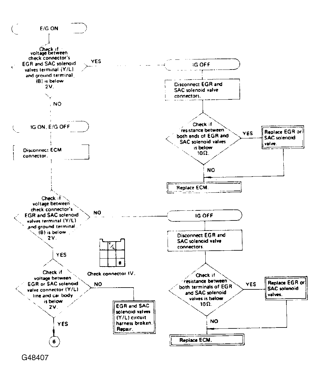
Trouble Code 62

Fig 1: Trouble Code 62
G48407