LEMON Manuals: Even more car manuals for everyone
Home >> Subaru >> 1984 >> DL 2D Hatchback >> Repair and Diagnosis >> Engine Performance >> System >> Feedback Carburetor System >> Testing >> Trouble Code 65

Trouble Code 65

Fig 1: Trouble Code 62
G42432


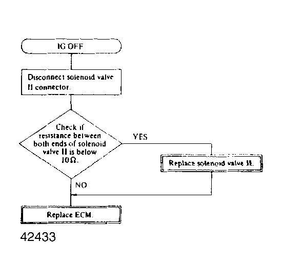
Fig 1: Trouble Code 63
G42433