LEMON Manuals: Even more car manuals for everyone
Home >> Subaru >> 1984 >> DL 2D Hatchback >> Repair and Diagnosis >> Engine Performance >> System >> Feedback Carburetor System >> Testing >> Trouble Code 53

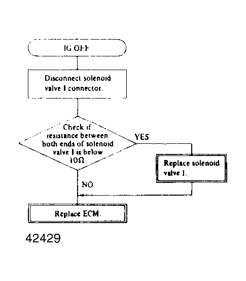
Trouble Code 53

Fig 1: TROUBLE CODE 53
G42429