LEMON Manuals: Even more car manuals for everyone
Home >> Subaru >> 1984 >> DL 2D Hatchback >> Repair and Diagnosis >> Engine Performance >> System >> Feedback Carburetor System >> Testing >> Trouble Code 44

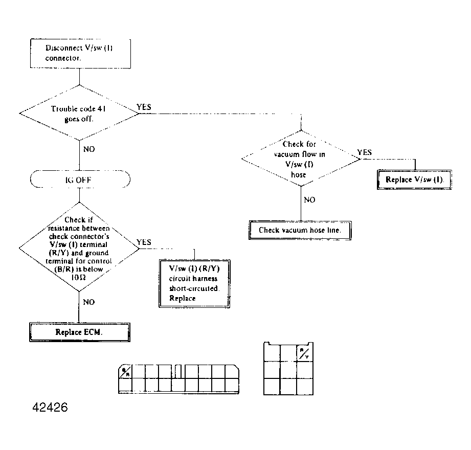
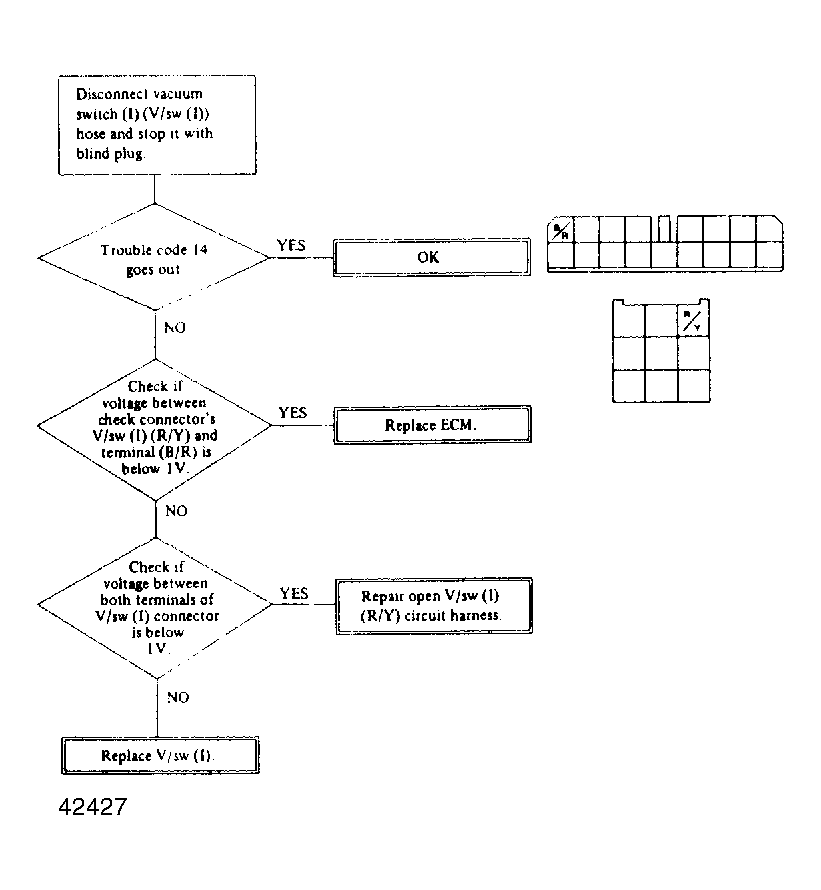
Trouble Code 44

Fig 1: Trouble Code 44
G42426


Fig 1: Trouble Code 44
G42427