LEMON Manuals: Even more car manuals for everyone
Home >> Scion >> 2014 >> tC Automatic Trans >> Repair and Diagnosis >> Engine Performance >> System >> Engine Control System (Service Information) >> ECM >> Installation [05/2013 - 01/2014] >> Installation [05/2013 - 01/2014]

Installation [05/2013 - 01/2014]

  1. INSTALL ECM 
    1. Install the 2 ECM brackets to the ECM with the 4 screws.

      Torque: 3.0 N*m (31 kgf*cm, 27 in.*lbf) 

    2. Install the ECM with bracket with the 2 bolts.

      Torque: 8.0 N*m (82 kgf*cm, 71 in.*lbf) 

    3. Attach the clamp.
    4. Connect the 2 ECM connectors and lower the 2 levers.
      Fig 1: Connecting ECM Connectors
      GTY422132Courtesy of © TOYOTA, LICENSE AGREEMENT TMS1002
      NOTE:
      • When connecting a connector, make sure that dirt, water and other foreign matter is not stuck between the connector and ECM.
      • Make sure that the 2 levers are securely lowered.
  2. CONNECT AIR CLEANER INLET 
    1. Connect the air cleaner inlet with the bolt.

      Torque: 7.0 N*m (71 kgf*cm, 62 in.*lbf) 

  3. INSTALL AIR CLEANER CASE 
    1. Install the air cleaner case with the 3 bolts.

      Torque: 7.0 N*m (71 kgf*cm, 62 in.*lbf) 

    2. Attach the harness clamp.
  4. INSTALL AIR CLEANER CAP SUB-ASSEMBLY 
    1. Install the air cleaner filter element to the air cleaner case.
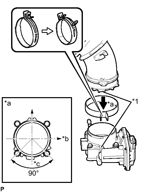
    2. Align the protrusion on the end of the air cleaner hose with the edge of the throttle body and connect the hose. Then, release the lock of the air cleaner hose clamp to secure the clamp.
      Fig 2: Installing Air Cleaner Assembly
      GTY422148Courtesy of © TOYOTA, LICENSE AGREEMENT TMS1002
      TEXT IN ILLUSTRATION

      *1 Protrusion
      *a View A
      *b RH Side
      *c Rear

      HINT: 

      Make sure the claws of the clamp are within the range shown in view A of the illustration.

    3. Fig 3: Installing Air Cleaner Cap
      GTY422526Courtesy of © TOYOTA, LICENSE AGREEMENT TMS1002
    4. Insert the hinge part of the air cleaner cap into the air cleaner case, and then attach the 2 hook clamps.
      TEXT IN ILLUSTRATION

      *1 Hinge
    5. Connect the purge line hose to the clamp.
    6. Connect the No. 2 ventilation hose to the cylinder head cover.
    7. Connect the 2 purge line hoses to the purge VSV.
    8. Attach the 2 wire harness clamps.
    9. Connect the purge VSV connector.
    10. Connect the mass air flow meter connector.
  5. CONNECT CABLE TO NEGATIVE BATTERY TERMINAL 
    NOTE:

    When disconnecting the cable, some systems need to be initialized after the cable is reconnected. Refer to INITIALIZATION [05/2013 - 01/2014] .

  6. PERFORM REGISTRATION 
    • When replacing the ECM, input the Vehicle Identification Number (VIN) into the new ECM. Refer to REGISTRATION [05/2013 - ] .
  7. RESET MEMORY (for Automatic Transaxle)