LEMON Manuals: Even more car manuals for everyone
Home >> Scion >> 2014 >> tC Automatic Trans >> Repair and Diagnosis >> Engine Performance >> System >> Engine Control System (Diagnostics & Circuit Tests) >> SFI System >> Circuit Tests >> VC Output Circuit [05/2013 - 01/2014] >> Wiring Diagram

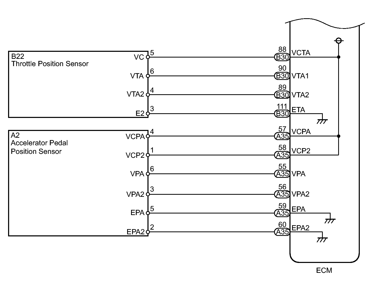
VC Output Circuit [05/2013 - 01/2014]: Wiring Diagram

Fig 1: VC Output Circuit - Wiring Diagram (1 Of 2)
GTY422216Courtesy of © TOYOTA, LICENSE AGREEMENT TMS1002
Fig 2: VC Output Circuit - Wiring Diagram (2 Of 2)
GTY422062Courtesy of © TOYOTA, LICENSE AGREEMENT TMS1002