LEMON Manuals: Even more car manuals for everyone
Home >> Scion >> 2013 >> tC Automatic Trans >> Repair and Diagnosis >> Accessories & Equipment >> Anti-Theft Systems >> Smart Key System (For Entry Function) (Diagnostics - Introduction) >> SMART KEY SYSTEM (for Entry Function) >> Operation Check >> Operation Check

Operation Check

  1. CHECK SMART KEY SYSTEM (for Entry Function) OPERATION 
    NOTE:

    Make sure that the smart key system (for Entry Function) has not been canceled before performing this inspection.

    1. Check the entry unlock function (driver side door, front passenger side door).
      1. Perform a wireless lock operation to lock all the doors, touch the unlock sensor built into the backside of the front door outside handle assembly of the driver side door while carrying the electrical key transmitter and check that all the doors unlock.

        HINT: 

        To perform a wireless lock operation, press the lock switch of the electrical key transmitter while standing near the front door outside handle assembly.

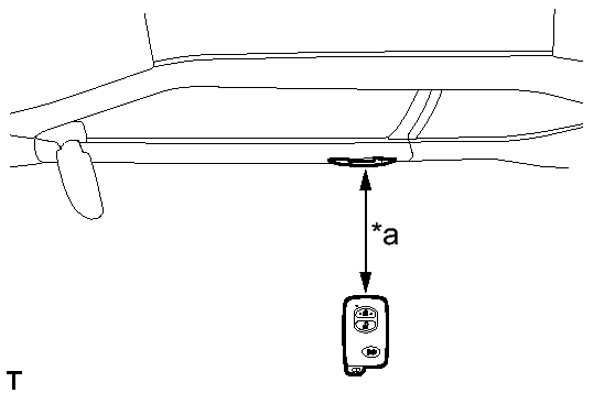
      2. Inspect the entry unlock detection area. Hold the electrical key transmitter at the same height as the front door outside handle assembly (approximately 0.8 m (2.62 ft.) from the ground) and approximately 0.7 m (2.30 ft.) from the vehicle as shown in the illustration and check that the LED (red) of the electrical key transmitter blinks.
        Fig 1: Identifying Electrical Key Transmitter Distance From LH Front Door Outside Handle
        GTY310453Courtesy of © TOYOTA, LICENSE AGREEMENT TMS1002
        TEXT IN ILLUSTRATION

        *a Approximately 0.7 m (2.30 ft.)

        HINT: 

        The outside mirror illumination turns on.

      3. With the system in unlock standby mode, hold the front door outside handle assembly and check that all the doors unlock.

        HINT: 

        • The system is in unlock standby mode when the electrical key transmitter is in the detection area and the key ID code sent by the electrical key transmitter matches the key ID code stored by the certification ECU (smart key ECU assembly).
        • Communication may not be possible if the electrical key transmitter is within 0.2 m (0.66 ft.) of the front door outside handle assembly.
        • Inspect the front passenger side door using the same procedure.
      4. Check the unlock response sensitivity. With the system in unlock standby mode, touch the area shown in the illustration and check that the door unlocks.
        NOTE:

        If the sensor is touched too quickly or released too slowly, the sensor may not react and the door will not unlock.

        Fig 2: Unlock Sensor Location
        GTY267640Courtesy of © TOYOTA, LICENSE AGREEMENT TMS1002
        TEXT IN ILLUSTRATION

        *1 Unlock Sensor (Backside)
    2. Check the entry lock function (driver side door, front passenger side door).
      NOTE:

      If the electrical key transmitter is in the vehicle but outside the detection area (on the instrument panel, in the glove box, on the floor) and a door lock operation is performed, the key lock-in prevention function will not operate and the electrical key transmitter will be locked inside the vehicle.

      1. With all the doors closed and unlocked, touch the lock sensor of the front door outside handle assembly of the driver side door while carrying the electrical key transmitter and check that all the doors lock.
        Fig 3: Identifying Electrical Key Transmitter Distance From LH Front Door Outside Handle
        GTY310453Courtesy of © TOYOTA, LICENSE AGREEMENT TMS1002
        TEXT IN ILLUSTRATION

        *a Approximately 0.3 m (0.98 ft.)
      2. Inspect the entry lock operating range. Hold the electrical key transmitter approximately 0.1 m (0.33 ft.) below the bottom edge of the door glass (approximately 0.8 m (2.62 ft.) from the ground) and approximately 0.3 m (0.98 ft.) from the vehicle as shown in the illustration, touch the lock sensor and check that all the doors lock.
        Fig 4: Lock Sensor
        GTY262238Courtesy of © TOYOTA, LICENSE AGREEMENT TMS1002
        TEXT IN ILLUSTRATION

        *1 Lock Sensor

        HINT: 

        • As communication may not be possible if the electrical key transmitter is within 0.2 m (0.66 ft.) of the front door outside handle assembly, the door may not lock if the lock sensor is touched with the same hand that is holding the electrical key transmitter, etc.
        • If the key lock-in prevention function buzzer sounds, electric waves from the indoor electrical key antenna may be leaking from the vehicle.
        • Inspect the front passenger side door using the same procedure.
        • The door lock operation cannot be performed more than 2 times consecutively.
      3. After the system enters unlock standby mode, touch the unlock sensor on the outside handle within 3 seconds. Check that the door unlocks.
        NOTE:

        The electrical key transmitter may not be able to communicate with the system within a 0.2 m (0.656 ft.) radius of each outside handle.

    3. Check the entry back door unlock function.
      1. Perform a wireless lock operation to lock all the doors, operate the unlock switch of the back door opener switch assembly while carrying the electrical key transmitter and check that all the doors unlock.
        Fig 5: Inspecting Back Door Unlock Switch Operating Range And Unlock Switch Location
        GTY314344Courtesy of © TOYOTA, LICENSE AGREEMENT TMS1002
        TEXT IN ILLUSTRATION

        *1 Unlock Switch
        *a Approximately 0.7 m (2.30 ft.)
        *b Vehicle Center
      2. Inspect the entry back door unlock operating range. While standing at the rear of the vehicle, hold the electrical key transmitter so that it is facing the direction shown in the illustration at the same height as the back door opener switch assembly and approximately 0.7 m (2.30 ft.) from the vehicle, press the unlock switch of the back door opener switch assembly and check that all the doors unlock.
    4. Check the entry back door lock function.
      NOTE:

      If the electrical key transmitter is inside the vehicle and a door lock operation is performed, it is possible that the electrical key transmitter may be locked inside the vehicle.

      1. With all the doors closed and unlocked, press the lock switch of the back door opener switch assembly while carrying the electrical key transmitter outside of the vehicle and check that all the doors lock.
      2. Inspect the entry back door lock operating range. Hold the electrical key transmitter so that it is facing the direction shown in the illustration at the same height as the top edge of the rear bumper and approximately 0.3 m (0.98 ft.) from the vehicle, press the lock of the back door opener switch assembly and check that all the doors lock.
        Fig 6: Inspecting Back Door Unlock Switch Operating Range And Back Door Opener Switch Location
        GTY314489Courtesy of © TOYOTA, LICENSE AGREEMENT TMS1002
        TEXT IN ILLUSTRATION

        *1 Lock Switch
        *a Approximately 0.3 m (0.98 ft.)
        *b Vehicle Center

        HINT: 

        • Communication may not be possible if the electrical key transmitter is within 0.2 m (0.66 ft.) of the rear bumper.
        • If the key lock-in prevention function buzzer sounds, electric waves from the indoor electrical key antenna assembly may be leaking from the vehicle.
    5. Check the entry ignition function.
      • *1: for Automatic Transaxle
      • *2: for Manual Transaxle
      1. With the engine switch off, move the shift lever to P*1, depress the brake pedal*1 or clutch pedal*2 while carrying the electrical key transmitter and check that the engine switch indicator illuminates in green. Then, with the engine switch indicator illuminated in green, press the engine switch and check that the engine starts.
      2. With the brake pedal*1 or clutch pedal*2 released and the engine switch off, press the engine switch while carrying the electrical key transmitter and check that the power source mode changes as follows: off → on (ACC) → on (IG) → off. However, if the shift lever is in any position other than P while the engine switch is on (IG), the power source mode will not change to off, but to on (ACC)*1.
      3. Stop the vehicle, press the engine switch and check that the power source mode changes to off (the engine stops and all electrical systems are off). However, if the shift lever is in any position other than P, even if the engine switch is pressed while the vehicle is stationary, the power source mode will not change to off, but to on (ACC). Move the shift lever to P, open the door and check that the steering lock operates*1.
      4. Inspect the entry ignition operating range (front). Place the electrical key transmitter on the front seat at either inspection point so that it is facing in the direction shown in the illustration and check that the engine can be started.
        Fig 7: Electrical Key Transmitter Inspection Point
        GTY313149Courtesy of © TOYOTA, LICENSE AGREEMENT TMS1002
        TEXT IN ILLUSTRATION

        *a Inspection Point
        NOTE:
        • Even if the electrical key transmitter is within the vehicle interior detection area, the electrical key transmitter may not be properly detected if it is on the instrument panel, in the glove box, in the rear seat cup holder or on the floor.
        • Communication may not be possible if the electrical key transmitter is within 0.2 m (0.66 ft.) of the shift lever.
        • The engine control system cannot be started when the electrical key transmitter is on the instrument panel or in the glove box.

        HINT: 

        Perform the inspection for both inspection points.

      5. Inspect the entry ignition operating range (rear). Place the electrical key transmitter on the rear seat at either inspection point so that it is facing in the direction shown in the illustration and check that the engine can be started.
        Fig 8: Electrical Key Transmitter Inspection Point
        GTY313035Courtesy of © TOYOTA, LICENSE AGREEMENT TMS1002
        TEXT IN ILLUSTRATION

        *a Inspection Point
        NOTE:
        • Even if the electrical key transmitter is within the vehicle interior detection area, the electrical key transmitter may not be properly detected if it is on the instrument panel, in the glove box, in the rear seat cup holder or on the floor.
        • Communication may not be possible if the electrical key transmitter is within 0.2 m (0.66 ft.) of the center of the rear seat cushion.

        HINT: 

        Perform the inspection for both inspection points.

      6. Inspect the entry ignition operating range (luggage). Place the electrical key transmitter at either inspection point and check that the engine can be started.
        Fig 9: Electrical Key Transmitter Inspection Point
        GTY314076Courtesy of © TOYOTA, LICENSE AGREEMENT TMS1002
        TEXT IN ILLUSTRATION

        *a Inspection Point
        NOTE:
        • Even if the electrical key transmitter is within the vehicle interior detection area, the electrical key transmitter may not be properly detected if it is on the instrument panel, in the glove box, in the rear seat cup holder or on the floor.
        • Communication may not be possible if the electrical key transmitter is within 0.2 m (0.66 ft.) of the center of the luggage compartment.

        HINT: 

        Perform the inspection for both inspection points.

    6. Check the key lock-in prevention function (vehicle interior).
      NOTE:

      In order to prevent the electrical key transmitter from being locked inside the vehicle, perform this inspection with the window of a door open.

      1. Turn the engine switch off.
      2. Place the electrical key transmitter on a front or rear seat.
      3. Close all the doors, but make sure all the doors are unlocked.
      4. Touch a front door lock sensor and check that the doors do not lock and that the key lock-in prevention function buzzer (external) sounds for approximately 10 seconds.
    7. Check the entry cancel function.
      1. Cancel the smart key system (for Entry Function) and check that all the functions of the smart key system (for Entry Function) no longer operate.

        HINT: 

        • Refer to the following procedures to cancel the smart key system (for Entry Function). Refer to CUSTOMIZE PARAMETERS .
        • While the smart key system (for Entry Function) is canceled, it is possible to lock and unlock the doors with the wireless operation, and the start system can be operated by holding the electrical key transmitter against the engine switch.
      2. While the key cancel function (entry cancel function) is on, check that all functions of the smart key system (for Entry Function) cannot be operated.
    8. Check the answer-back function (hazard warning light and wireless door lock buzzer function operation).
      Entry Operation Hazard Warning Light Wireless Door Lock Buzzer
      Entry Door Lock Flashes once Sounds once
      Entry Door Unlock Flashes twice Sounds twice
      Entry Back Door Lock Flashes once Sounds once
      Entry Back Door Unlock Flashes twice Sounds twice
  2. KEY DIAGNOSTIC MODE (Using Techstream) 

    HINT: 

    With key diagnostic mode, it is possible to check if the electrical key transmitter is operating properly with the selected electrical key antenna and within the selected detection area by the sounding of the wireless buzzer.

    1. Enter the following menus: Body Electrical / Smart Key / Utility / Key Communication Check.
    2. Select a part to inspect from the following table.
      Tester Display Inspection Range
      Overhead + Driver Side*1 Front door outside handle assembly LH (electrical key antenna) [for Driver Side]
      Overhead + Passenger Side*2 Front door outside handle assembly RH (electrical key antenna) [for Front Passenger Side]
      Overhead + Front Room*3 Indoor No. 1 electrical key antenna assembly (front floor)
      Overhead + Rear Room*4 Indoor No. 2 electrical key antenna assembly (rear floor)
      Overhead + Back Door (inside)*5 Indoor No. 3 electrical key antenna assembly (inside luggage)
      Overhead + Back Door*6 Electrical key antenna (outside luggage)
    3. Bring the key near the selected electrical key antenna and check that the wireless door lock buzzer sounds.

      HINT: 

      The buzzer sounds in short, repeated beeps for all items except "Overhead + Rear Room"*4. For "Overhead + Rear Room"*4, the buzzer sounds in one long, continuous beep.

      1. *1: Front door outside handle assembly LH (electrical key antenna) [for Driver Side]
        Fig 10: Identifying Electrical Key Transmitter Distance From LH Front Door Outside Handle
        GTY310453Courtesy of © TOYOTA, LICENSE AGREEMENT TMS1002
        TEXT IN ILLUSTRATION

        *a Approximately 0.7 m (2.30 ft.)

        HINT: 

        • Hold the electrical key transmitter at the same height as the front door outside handle assembly (approximately 0.8 m (2.62 ft.) from the ground) in the position shown in the illustration.
        • *2: Perform the same inspection for the front passenger side.
    4. *3: Indoor No. 1 electrical key antenna assembly (front floor)
      Fig 11: Electrical Key Transmitter Inspection Point
      GTY313149Courtesy of © TOYOTA, LICENSE AGREEMENT TMS1002
      TEXT IN ILLUSTRATION

      *a Inspection Point

      HINT: 

      Place the electrical key transmitter on the front seat cushion of the driver seat or front passenger seat.

    5. *4: Indoor No. 2 electrical key antenna assembly (rear floor)
      Fig 12: Electrical Key Transmitter Inspection Point
      GTY313035Courtesy of © TOYOTA, LICENSE AGREEMENT TMS1002
      TEXT IN ILLUSTRATION

      *a Inspection Point

      HINT: 

      Place the electrical key transmitter on the rear seat cushion.

    6. *5: Indoor No. 3 electrical key antenna assembly (inside luggage)
      Fig 13: Electrical Key Transmitter Inspection Point
      GTY314076Courtesy of © TOYOTA, LICENSE AGREEMENT TMS1002
      TEXT IN ILLUSTRATION

      *a Inspection Point

      HINT: 

      Place the electrical key transmitter in the luggage compartment. Even if the electrical key transmitter is in the luggage compartment, the buzzer may not sound.

    7. *6: Electrical key antenna (outside luggage)
      Fig 14: Identifying Electrical Key Transmitter Distance From Outside Luggage Lid
      GTY313299Courtesy of © TOYOTA, LICENSE AGREEMENT TMS1002
      TEXT IN ILLUSTRATION

      *a Approximately 0.7 m (2.30 ft.)
      *b Vehicle Center

      HINT: 

      While standing at the rear of the vehicle, hold the electrical key transmitter in the position shown in the illustration at the same height as the top edge of the rear bumper.