LEMON Manuals: Even more car manuals for everyone
Home >> Scion >> 2013 >> iQ Base >> Repair and Diagnosis >> External Pages >> Different variant/trim >> Section 81 (Smart Key System (Entry Function) (Diagnostic Codes & Symptom Tests) (Electric)) >> SMART KEY SYSTEM (for Entry Function) >> Symptom Tests >> Front Passenger Side Door Entry Lock Function does not Operate >> Procedure

Front Passenger Side Door Entry Lock Function does not Operate: Procedure

WARNING: This page is about a different variant/trim than selected.
  1. CHECK POWER DOOR LOCK OPERATION 
    1. When the door control switch on the multiplex network master switch assembly on the driver side door is operated, check that the doors unlock and lock according to the switch operation. Refer to OPERATION CHECK .

      OK

      Door locks operate normally.

    NG → See step   5 

    OK: Go to next step 

  2. READ VALUE USING TECHSTREAM (P-DOOR TRIGGER SWITCH) 
    1. Connect the Techstream to the DLC3.
    2. Turn the power switch on (IG).
    3. Turn the Techstream on.
    4. Enter the following menus: Body Electrical / Smart Key / Data List.
    5. According to the display on the Techstream, read the Data List.
      SMART KEY

      Techstream Display Measurement Item/Range Normal Condition Diagnostic Note
      P-Door Trigger Switch Front door outside handle assembly (for front passenger side) (lock sensor) / ON or OFF ON: Front door outside handle assembly (for front passenger side) (lock sensor) touched
      OFF: Front door outside handle assembly (for front passenger side) (lock sensor) not touched
      • Displays whether the lock sensor is on or off (even if the sensor is touched and contact is maintained, "ON" is displayed only momentarily).
      • Use this Data List item to help determine if there is a lock sensor malfunction when the entry lock function does not operate.

      OK

      On the Techstream screen, the display changes between ON and OFF as shown in the table above.

    NG → See step   3 

    OK → See step   6 

  3. CHECK HARNESS AND CONNECTOR (CERTIFICATION ECU (SMART KEY ECU ASSEMBLY) - FRONT DOOR OUTSIDE HANDLE ASSEMBLY RH) 
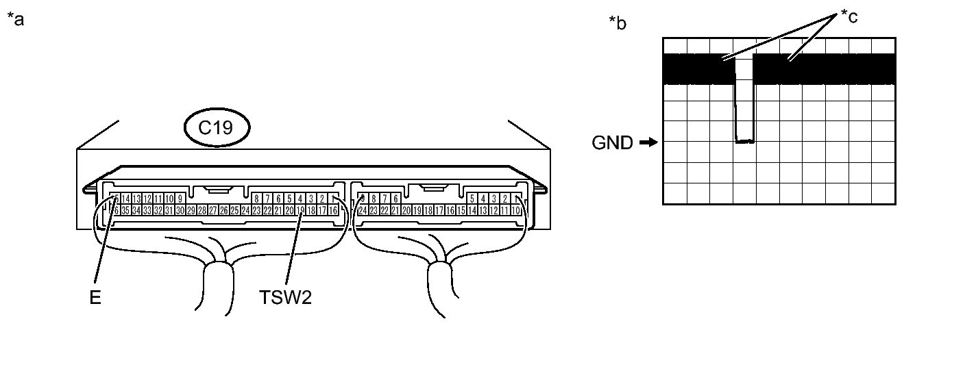
    1. Disconnect the C19 certification ECU (smart key ECU assembly) connector.
    2. Disconnect the R1 front door outside handle assembly RH connector.
    3. Measure the resistance according to the value(s) in the table below.

      Standard Resistance

      Tester Connection Condition Specified Condition
      C19-19 (TSW2) - R1-1 (TRG+) Always Below 1 Ω
      C19-15 (E) - Body ground Always Below 1 Ω
      C19-19 (TSW2) or R1-1 (TRG+) - Body ground Always 10 kΩ or higher

    NG → REPAIR OR REPLACE HARNESS OR CONNECTOR 

    OK: Go to next step 

  4. INSPECT FRONT DOOR OUTSIDE HANDLE ASSEMBLY RH (FRONT PASSENGER SIDE LOCK SENSOR SIGNAL INPUT) 
    1. Connect the C19 certification ECU (smart key ECU assembly) connector.
    2. Connect the R1 front door outside handle assembly RH connector.
      Fig 1: Identifying Certification ECU (Smart Key ECU Assembly) Connector Terminals With Waveform
      GTY389055Courtesy of © TOYOTA, LICENSE AGREEMENT TMS1002
      TEXT IN ILLUSTRATION

      *a Component with harness connected
      (Certification ECU - Smart Key ECU Assembly)
      *b Waveform
      *c In actuality, sampling is being performed - -
    3. Using an oscilloscope, check the waveform.

      OK

      Tester Connection Condition Tool Setting Specified Condition
      C19-19 (TSW2) - C19-15 (E) Procedure:
      1. Power switch off
      2. Electrical key transmitter sub-assembly brought outside vehicle
      3. All doors closed
      4. Front passenger door lock sensor not touched → touched
      2 V/DIV., 500 ms/DIV. Pulse generation (See waveform)

    NG → See step   7 

    OK → See step   6 

  5. GO TO POWER DOOR LOCK CONTROL SYSTEM. Refer to  PROBLEM SYMPTOMS TABLE 
  6. REPLACE CERTIFICATION ECU (SMART KEY ECU ASSEMBLY). Refer to  REMOVAL 
  7. REPLACE FRONT DOOR OUTSIDE HANDLE ASSEMBLY RH. Refer to  DISASSEMBLY