LEMON Manuals: Even more car manuals for everyone
Home >> Scion >> 2013 >> iQ Base >> Repair and Diagnosis >> External Pages >> Different variant/trim >> Section 81 (Smart Key System (Entry Function) (Diagnostic Codes & Symptom Tests) (Electric)) >> SMART KEY SYSTEM (for Entry Function) >> DTC B27A7: Open in Inside Luggage Compartment Electrical Key Oscillator Circuit >> Procedure

DTC B27A7: Open in Inside Luggage Compartment Electrical Key Oscillator Circuit: Procedure

WARNING: This page is about a different variant/trim than selected.
  1. CHECK CONNECTOR CONNECTION CONDITION 
    1. Turn the power switch off.
    2. Check that the connectors are properly connected to the certification ECU (smart key ECU assembly) and indoor electrical key oscillator (rear floor).

      OK

      Connectors are properly connected.

    NG → CONNECT CONNECTORS PROPERLY 

    OK: Go to next step 

  2. CHECK HARNESS AND CONNECTOR (CERTIFICATION ECU (SMART KEY ECU ASSEMBLY) - INDOOR ELECTRICAL KEY OSCILLATOR (REAR FLOOR) 
    1. Disconnect the C19 certification ECU (smart key ECU assembly) connector.
    2. Disconnect the G28 indoor electrical key oscillator (rear floor) connector.
    3. Measure the resistance according to the value(s) in the table below.

      Standard Resistance

      Tester Connection Condition Specified Condition
      C19-26 (CLG7) - G28-1 (ANTE7) Always Below 1 Ω
      C19-27 (CG7B) - G28-3 (CLGB) Always Below 1 Ω
      C19-15 (E) - Body ground Always Below 1 Ω
      C19-26 (CLG7) or G28-1 (ANTE7) - Body ground Always 10 kΩ or higher
      C19-27 (CG7B) or G28-3 (CLGB) - Body ground Always 10 kΩ or higher

    NG → REPAIR OR REPLACE HARNESS OR CONNECTOR 

    OK: Go to next step 

  3. INSPECT CERTIFICATION ECU (SMART KEY ECU ASSEMBLY) (OUTPUT TO INDOOR ELECTRICAL KEY OSCILLATOR (REAR FLOOR) 
    1. Connect the C19 certification ECU (smart key ECU assembly) connector.
    2. Connect the G28 indoor electrical key oscillator (rear floor) connector.
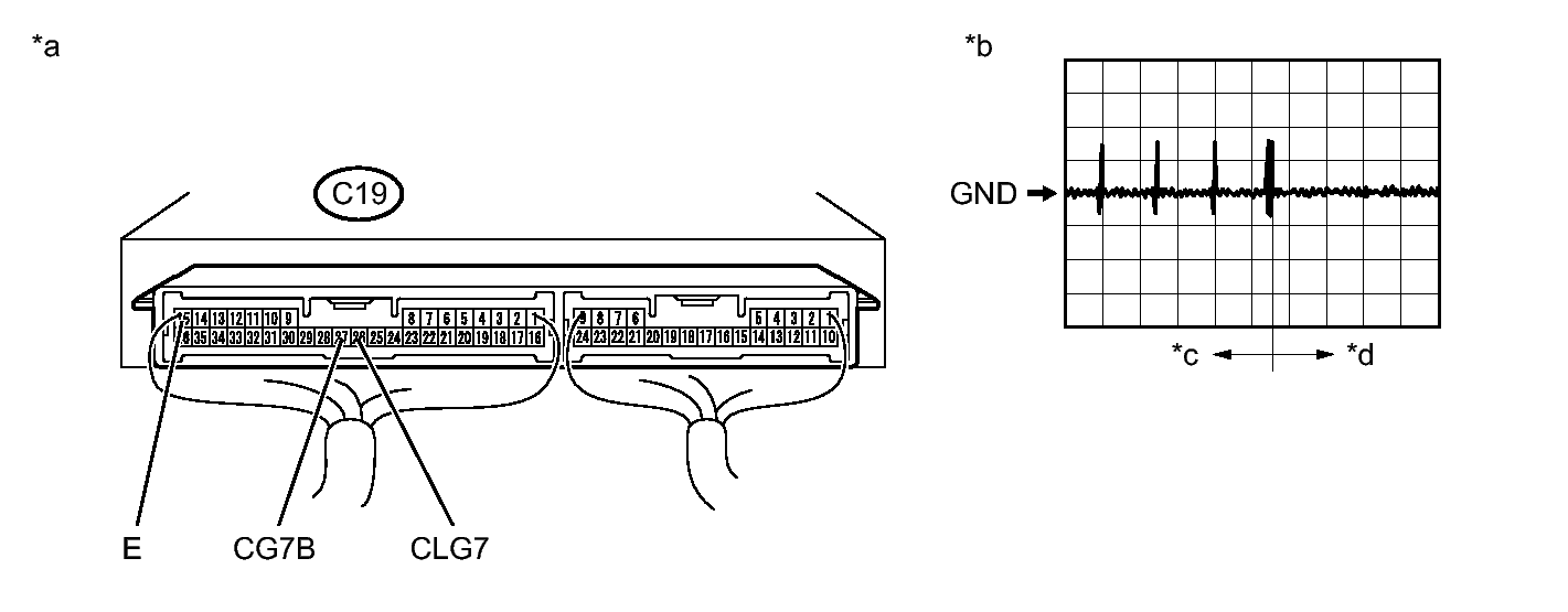
      Fig 1: Identifying Certification ECU (Smart Key ECU Assembly) Connector Terminals With Waveform
      GTY388267Courtesy of © TOYOTA, LICENSE AGREEMENT TMS1002
      TEXT IN ILLUSTRATION

      *a Component with harness connected
      (Certification ECU - Smart Key ECU Assembly)
      *b Waveform
      *c Before driver door lock sensor touched *d After driver door lock sensor touched
    3. Using an oscilloscope, check the waveform.

      OK

      Tester Connection Switch Condition Tool Setting Specified Condition
      C19-26 (CLG7) - C19-15 (E) Proceed:
      1. Power switch off
      2. Electrical key transmitter sub-assembly not inside vehicle
      3. Door is open
      4. Door is closed
      5. Within 30 seconds
      2 V/DIV., 500 ms/DIV. Pulse generation (See waveform)
      C19-27 (CG7B) - C19-15 (E) Proceed:
      1. Power switch off
      2. Electrical key transmitter sub-assembly not inside vehicle
      3. Door is open
      4. Door is closed
      5. Within 30 seconds
      2 V/DIV., 500 ms/DIV. Pulse generation (See waveform)

    NG → See step   7 

    OK: Go to next step 

  4. REPLACE INDOOR ELECTRICAL KEY OSCILLATOR (REAR FLOOR) 
    1. Temporarily replace the indoor electrical key oscillator (rear floor) with a new or normally functioning one. Refer to REMOVAL .

    NEXT: Go to next step 

  5. CLEAR DTC 
    1. Clear the DTCs. Refer to DTC CHECK / CLEAR .

    NEXT: Go to next step 

  6. CHECK FOR DTC 
    1. Check for DTCs. Refer to DTC CHECK / CLEAR .

      OK

      DTC B27A7 is not output.

    NG → See step   8 

    OK → END (INDOOR ELECTRICAL KEY OSCILLATOR (REAR FLOOR) WAS DEFECTIVE) 

  7. REPLACE CERTIFICATION ECU (SMART KEY ECU ASSEMBLY). Refer to  REMOVAL 
  8. REPLACE CERTIFICATION ECU (SMART KEY ECU ASSEMBLY). Refer to  REMOVAL