LEMON Manuals: Even more car manuals for everyone
Home >> Scion >> 2013 >> iQ Base >> Repair and Diagnosis >> External Pages >> Different variant/trim >> Section 81 (Smart Key System (Entry Function) (Diagnostic Codes & Symptom Tests) (Electric)) >> SMART KEY SYSTEM (for Entry Function) >> DTC B27A1: Open in Driver Side Electrical Antenna Circuit >> Procedure

DTC B27A1: Open in Driver Side Electrical Antenna Circuit: Procedure

WARNING: This page is about a different variant/trim than selected.
  1. CHECK CONNECTOR CONNECTION 
    1. Turn the power switch off.
    2. Check that the connectors are properly connected to the certification ECU (smart key ECU assembly) and front door outside handle assembly LH.

      OK

      Connectors are properly connected.

    NG → CONNECT CONNECTORS PROPERLY 

    OK: Go to next step 

  2. CHECK HARNESS AND CONNECTOR (CERTIFICATION ECU (SMART KEY ECU ASSEMBLY) - FRONT DOOR OUTSIDE HANDLE ASSEMBLY LH) 
    1. Disconnect the C19 certification ECU (smart key ECU assembly) connector.
    2. Disconnect the S1 front door outside handle assembly LH connector.
    3. Measure the resistance according to the value(s) in the table below.

      Standard Resistance

      Tester Connection Condition Specified Condition
      C19-3 (CLG1) - S1-6 (ANT1) Always Below 1 Ω
      C19-4 (CG1B) - S1-3 (ANT2) Always Below 1 Ω
      C19-15 (E) - Body ground Always Below 1 Ω
      S1-2 (GND) - Body ground Always Below 1 Ω
      C19-3 (CLG1) or S1-6 (ANT1) - Body ground Always 10 kΩ or higher
      C19-4 (CG1B) or S1-3 (ANT2) - Body ground Always 10 kΩ or higher

    NG → REPAIR OR REPLACE HARNESS OR CONNECTOR 

    OK: Go to next step 

  3. INSPECT CERTIFICATION ECU (SMART KEY ECU ASSEMBLY) (OUTPUT TO DRIVER SIDE ELECTRICAL KEY ANTENNA) 
    1. Connect the C19 certification ECU (smart key ECU assembly) connector.
    2. Connect the S1 front door outside handle assembly RH connector.
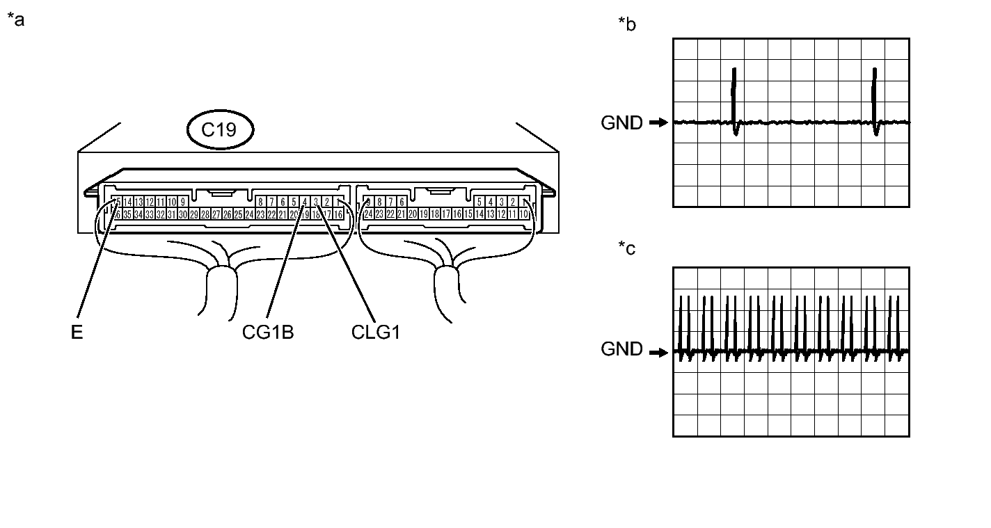
      Fig 1: Identifying Certification ECU (Smart Key ECU Assembly) Connector Terminals With Waveforms
      GTY392845Courtesy of © TOYOTA, LICENSE AGREEMENT TMS1002
      TEXT IN ILLUSTRATION

      *a Component with harness connected
      (Certification ECU - Smart Key ECU Assembly)
      *b Waveform 1
      *c Waveform 2 - -
    3. Using an oscilloscope, check the waveform.

      OK

      Tester Connection Condition Tool Setting Specified Condition
      C19-3 (CLG1) - C19-15 (E) Procedure:
      1. Power switch off
      2. Electrical key transmitter sub-assembly brought outside vehicle
      3. All doors closed
      4. Electrical key transmitter sub-assembly not inside vehicle
      5. Electrical key transmitter sub-assembly brought inside detection area*1
      6. All doors locked through wireless operation
      2 V/DIV., 500 ms/DIV. Pulse generation (See waveform 1)
      C19-3 (CLG1) - C19-15 (E) Procedure:
      1. Power switch off
      2. Electrical key transmitter sub-assembly brought outside vehicle
      3. All doors closed
      4. Electrical key transmitter sub-assembly not inside vehicle
      5. Electrical key transmitter sub-assembly brought outside detection area*2
      6. All doors locked through wireless operation
      2 V/DIV., 500 ms/DIV. Pulse generation (See waveform 2)
      C19-4 (CG1B) - C19-15 (E) Procedure:
      1. Power switch off
      2. Electrical key transmitter sub-assembly brought outside vehicle
      3. All doors closed
      4. Electrical key transmitter sub-assembly not inside vehicle
      5. Electrical key transmitter sub-assembly brought outside detection area*2
      6. All doors locked through wireless operation
      2 V/DIV., 500 ms/DIV. Pulse generation (See waveform 2)
      • *1: For details about the areas that are inside the entry function detection area, refer to Operation Check. Refer to OPERATION CHECK .
      • *2: For details about the areas that are outside the entry function detection area, refer to Operation Check. Refer to OPERATION CHECK .

    NG → See step   7 

    OK: Go to next step 

  4. REPLACE FRONT DOOR OUTSIDE HANDLE ASSEMBLY LH 
    1. Temporarily replace the front door outside handle assembly LH with a new or normally functioning one. Refer to DISASSEMBLY .

    NEXT: Go to next step 

  5. CLEAR DTC 
    1. Clear the DTCs. Refer to DTC CHECK / CLEAR .

    NEXT: Go to next step 

  6. CHECK FOR DTC 
    1. Check for DTCs. Refer to DTC CHECK / CLEAR .

      OK

      DTC B27A1 is not output.

    NG → See step   7 

    OK → END (FRONT DOOR OUTSIDE HANDLE ASSEMBLY LH WAS DEFECTIVE) 

  7. REPLACE CERTIFICATION ECU (SMART KEY ECU ASSEMBLY). Refer to  REMOVAL