LEMON Manuals: Even more car manuals for everyone
Home >> Scion >> 2013 >> iQ Base >> Repair and Diagnosis >> Body & Frame >> Windows >> Power Window Control System (Diagnostics Introduction) (Except Electric) >> Power Window Control System >> System Diagram >> System Diagram

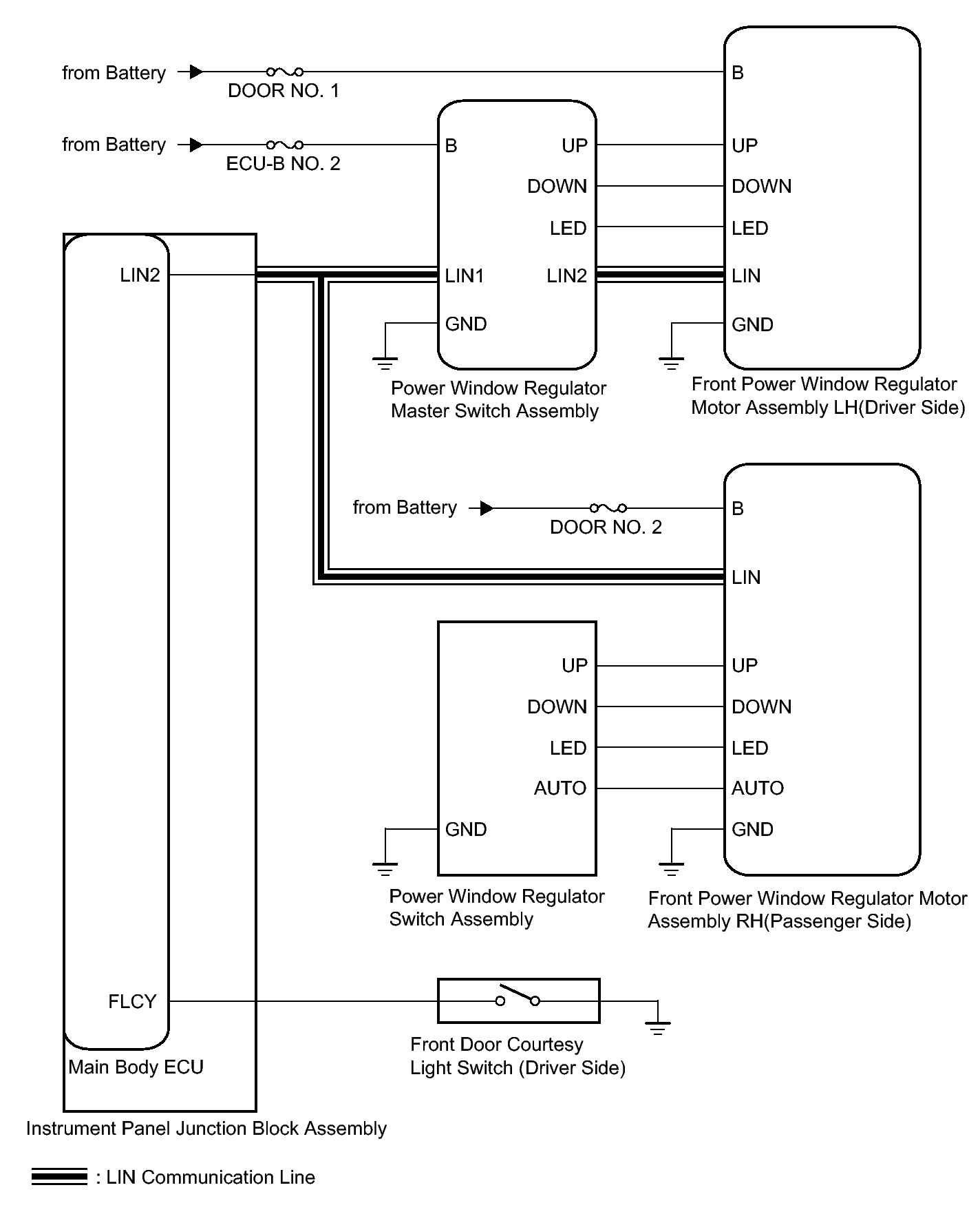
System Diagram

Fig 1: Power Window Control System Diagram
GTY346868Courtesy of © TOYOTA, LICENSE AGREEMENT TMS1002
COMMUNICATION TABLE

Sender Receiver Signal Line
Power window regulator master switch assembly Front power window regulator motor assembly LH (driver side) Power window AUTO UP/DOWN signal LIN
Power window regulator master switch assembly Front power window regulator motor assembly RH (passenger side) Power window remote UP/DOWN signal LIN
Main Body ECU
  • Power window regulator master switch assembly
  • Front power window regulator motor assembly RH (passenger side)
Power window operation permission signal LIN