LEMON Manuals: Even more car manuals for everyone
Home >> Scion >> 2013 >> iQ Base >> Repair and Diagnosis (Single Page) >> Restraints >> Air Bag, SRS >> Occupant Classification System (Diagnostic Codes & Symptom Tests) (Except Electric) >> Occupant Classification System >> DTC B1793: Occupant Classification Sensor Power Supply Circuit Malfunction >> Wiring Diagram

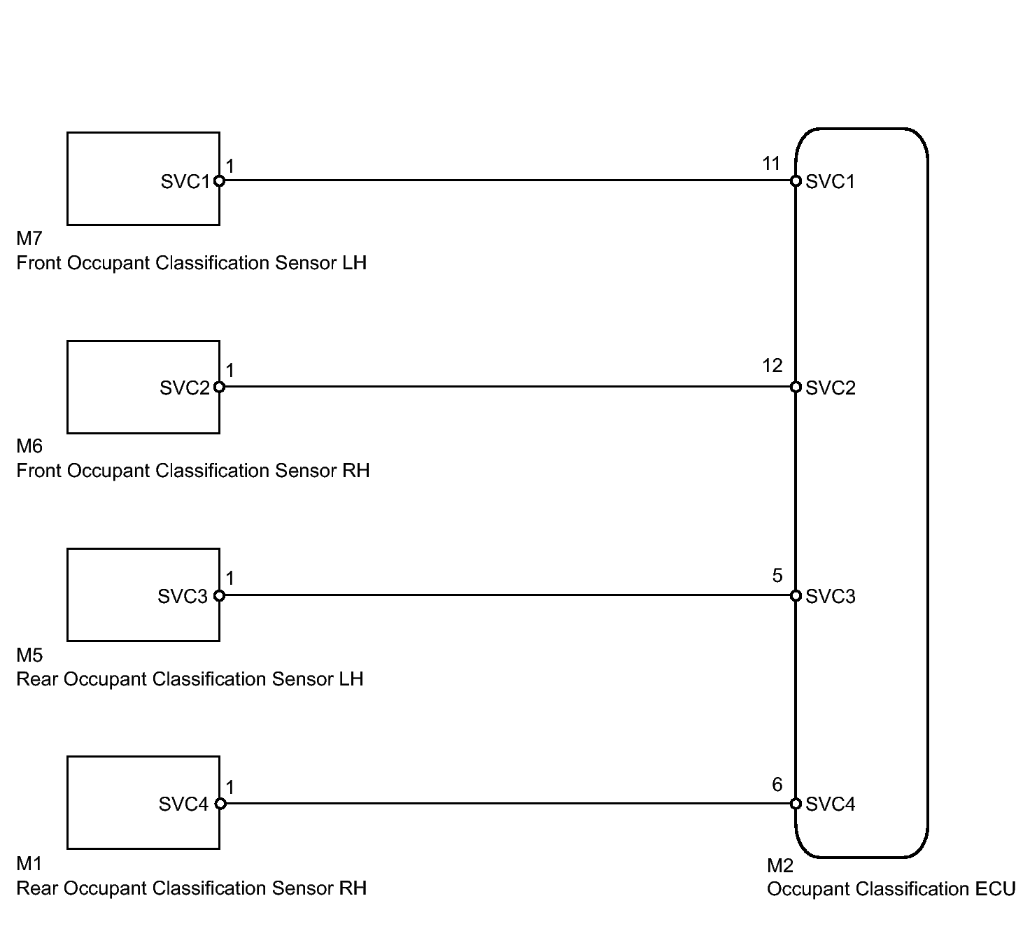
DTC B1793: Occupant Classification Sensor Power Supply Circuit Malfunction: Wiring Diagram

Fig 1: Rear Occupant Classification Sensor - Wiring Diagram
GTY344562Courtesy of © TOYOTA, LICENSE AGREEMENT TMS1002