LEMON Manuals: Even more car manuals for everyone
Home >> Scion >> 2009 >> tC Automatic >> Repair and Diagnosis >> Engine Performance >> Remove, Overhaul & Install >> 2AZ-FE Engine Control System >> SFI System >> EVAP System >> Inspection Procedure

Inspection Procedure

NOTE: The Techstream is required to conduct the following diagnostic troubleshooting procedure.

HINT:

  1. CONFIRM DTC 
    1. Turn the ignition switch off and wait for 10 seconds.
    2. Turn the ignition switch to the ON position.
    3. Turn the ignition switch off and wait for 10 seconds.
    4. Connect the Techstream to the DLC3.
    5. Turn the ignition switch to the ON position and turn the Techstream on.
    6. Select the following menu items: Powertrain/Engine and ECT/Trouble Codes.
    7. Confirm DTCs and freeze frame data.

      If any EVAP system DTCs are set, the malfunctioning area can be determined using the table below.

      NOTE: If the reference pressure difference between the first and second checks is greater than the specification, ail the DTCs relating to the reference pressure (P043E, P043F, P2401, P2402 and P2419) are stored.
    Fig 1: DTC And Malfunction Area Chart
    G04828290Courtesy of © TOYOTA, LICENSE AGREEMENT TMS1002
  2. PERFORM EVAPORATIVE SYSTEM CHECK (AUTOMATIC MODE) 
    NOTE:
    • The Evaporative System Check (Automatic Mode) consists of 5 steps performed automatically by the Techstream. It takes a maximum of approximately 18 minutes.
    • Do not perform the Evaporative System Check when the fuel tank is more than 90% full because the cut-off valve may be closed, making the fuel tank leak check unavailable.
    • Do not run the engine during this operation.
    • When the temperature of the fuel is 35°C (95°F) or more, a large amount of vapor forms and any check results become inaccurate. When performing the Evaporative System Check, keep the temperature below 35°C (95°F).
    1. Clear the DTCs (See DTC CHECK/CLEAR  ).
    2. On the tester, select the following menu items: Powertrain/Engine and ECT/Utility/Evaporative System Check/Automatic Mode.
    3. After the Evaporative System Check is completed, check for pending DTCs by selecting the following menu items: Powertrain/Engine and ECT/Trouble Codes/Pending.

      HINT:

      If no pending DTCs are displayed, perform the MONITOR CONFIRMATION (see "Diagnostic Help" menu). After this confirmation, check for pending DTCs. If no DTCs are displayed, the EVAP system is normal.

  3. PERFORM EVAPORATIVE SYSTEM CHECK (MANUAL MODE) 
    Fig 2: EVAP Pressure Malfunction Chart - Manual Mode
    G06276424Courtesy of © TOYOTA, LICENSE AGREEMENT TMS1002
    NOTE:
    • In the Evaporative System Check (Manual Mode), perform the series of 5 Evaporative System Check steps manually using the Techstream.
    • Do not perform the Evaporative System Check when the fuel tank is more than 90% full because the cut-off valve may be closed, making the fuel tank leak check unavailable.
    • Do not run the engine during this operation.
    • When the temperature of the fuel is 35°C (95°F) or more, a large amount of vapor forms and any check results become inaccurate. When performing the Evaporative System Check, keep the temperature below 35°C (95°F).
    1. Clear the DTCs (See DTC CHECK/CLEAR  ).
    2. Select the following menu items: Powertrain/Engine and ECT/Utility/Evaporative System Check/Manual Mode.
  4. PERFORM EVAPORATIVE SYSTEM CHECK (STEP 1/5) 
    1. Check the EVAP pressure in step 1/5.
      Fig 3: EVAP Pressure Malfunction Chart - STEP 1/5
      G04973772Courtesy of © TOYOTA, LICENSE AGREEMENT TMS1002

      Result 

      RESULT CHART

      DTCs(1) Test Result Suspected Trouble Area Proceed to
      - Virtually no variation in EVAP pressure Not yet determined A
      P0451 EVAP pressure fluctuates by +-0.3 kPa-g (2.25 mmHg-g) or more Canister pressure sensor noise B
      (1) These DTCs are already present in the ECM when the vehicle arrives and are confirmed in the "CONFIRM DTC" procedures above.

      B: Go to step  29

      A: Go to Next Step 

  5. PERFORM EVAPORATIVE SYSTEM CHECK (STEP 1/5 TO 2/5) 
    1. Check the EVAP pressure in steps 1/5 and 2/5.
      Fig 4: EVAP Pressure Malfunction Chart - STEP 1/5 To 2/5
      G04973773Courtesy of © TOYOTA, LICENSE AGREEMENT TMS1002

      Result 

      RESULT CHART

      DTCs(1) Test Result Suspected Trouble Area Proceed to
      - Virtually no variation in EVAP pressure during step 1/5. Then EVAP pressure decreases to reference pressure. Not yet determined A
      P2402 Small difference between EVAP pressures during steps 1/5 and 2/5 Leak detection pump stuck ON B
      (1) These DTCs are already present in the ECM when the vehicle arrives and are confirmed in the "CONFIRM DTC" procedures above

      HINT:
      The first reference pressure is the value determined in step 2/5.

    B: Go to step  22

    A: Go to Next Step 

  6. PERFORM EVAPORATIVE SYSTEM CHECK (STEP 2/5) 

    HINT:

    Make a note of the pressures checked in steps "A" and "B" below.

    Fig 5: EVAP Pressure Malfunction Chart - STEP 2/5
    G04828302Courtesy of © TOYOTA, LICENSE AGREEMENT TMS1002
    1. Check the EVAP pressure 4 seconds after the leak detection pump is activated* (Step "A").

      *: The leak detection pump begins to operate as step 1/5 finishes and step 2/5 starts.

    2. Check the EVAP pressure again when it has stabilized. This pressure is the reference pressure (Step "B").

    Result 

    RESULT CHART

    DTCs(1) Test Result Suspected Trouble Area Proceed to
    - EVAP pressure in step (b) between -4.85 kPa-g and -1.057 kPa-g (-36.4 mmHg-g and -7.93 mmHg-g) Not yet determined A
    P043F and P2401 EVAP pressure in step (b) -1.057 kPa-g (-7.93 mmHg-g) or more
    • Reference orifice high-flow
    • Leak detection pump stuck OFF
    B
    P043E EVAP pressure in step (b) below -4.85 kPa-g (-36.4 mmHg-g) Reference orifice clogged C
    P2419 EVAP pressure in step (a) more than -1.057 kPa-g (-7.93 mmHg-g) Vent valve stuck closed D
    (1) These DTCs are already present in the ECM when the vehicle arrives and are confirmed in the "CONFIRM DTC" procedures above.

    B: Go to step  11

    C: Go to step  29

    D: Go to step  20

    A: Go to Next Step 

  7. PERFORM EVAPORATIVE SYSTEM CHECK (STEP 2/5 TO 3/5) 
    1. Check the EVAP pressure increase in step 3/5.
    Fig 6: EVAP Pressure Malfunction Chart - STEP 2/5 To 3/5
    G04828303Courtesy of © TOYOTA, LICENSE AGREEMENT TMS1002

    Result 

    RESULT CHART

    DTCs(1) Test Result Suspected Trouble Area Proceed to
    - EVAP pressure increases by 0.3 kPa-g (2.25 mmHg-g) or more within 10 seconds of proceeding from step 2/5 to step 3/5 Not yet determined A
    P2420 No variation in EVAP pressure despite proceeding from step 2/5 to step 3/5 Vent valve stuck open (vent) B
    P0451 No variation in EVAP pressure during steps 1/5 through 3/5 Canister pressure sensor malfunction fixed C
    (1) These DTCs are already present in the ECM when the vehicle arrives and are confirmed in the "CONFIRM DTC" procedures above.

    B: Go to step  19

    C: Go to step  29

    A: Go to Next Step 

  8. PERFORM EVAPORATIVE SYSTEM CHECK (STEP 3/5) 
    1. Wait until the EVAP pressure change is less than 0.1 kPa-g (0.75 mmHg-g) for 30 seconds.
      Fig 7: EVAP Pressure Malfunction Chart - STEP 3/5
      G04828304Courtesy of © TOYOTA, LICENSE AGREEMENT TMS1002
    2. Measure the EVAP pressure and record it.

      HINT:

      A few minutes are required for the EVAP pressure to become saturated. When there is little fuel in the fuel tank, it takes up to 15 minutes.

  9. PERFORM EVAPORATIVE SYSTEM CHECK (STEP 4/5) 
    1. Check the EVAP pressure in step 4/5.
      Fig 8: EVAP Pressure Malfunction Chart - STEP 4/5
      G06276430Courtesy of © TOYOTA, LICENSE AGREEMENT TMS1002

      Result 

      RESULT CHART

      DTCs(1) Test Result Suspected Trouble Area Proceed to
      - EVAP pressure increases by 0.3 kPa-g (2.25 mmHg-g) or more within 10 seconds of proceeding from step 3/5 to step 4/5 Not yet determined A
      P0441 EVAP pressure increases by 0.3 kPa-g (2.25 mmHg-g) or more within 10 seconds of proceeding from step 3/5 to step 4/5 Problems in EVAP hose between purge VSV and intake manifold B
      P0441 Variation in EVAP pressure less than 0.3 kPa-g (2.25 mmHg-g) for 10 seconds, after proceeding from step 3/5 to step 4/5 Purge VSV stuck closed C
      (1) These DTCs are already present in the ECM when the vehicle arrives and are confirmed in the "CONFIRM DTC" procedures above.

    B: Go to step  15

    C: Go to step  12

    A: Go to Next Step 

  10. PERFORM EVAPORATIVE SYSTEM CHECK (STEP 5/5) 
    1. Check the EVAP pressure in step 5/5.
      Fig 9: EVAP Pressure Malfunction Chart - STEP 5/5
      G04973778Courtesy of © TOYOTA, LICENSE AGREEMENT TMS1002
    2. Compare the EVAP pressure in step 3/5 and the second reference pressure (step 5/5).

    Result 

    RESULT CHART

    DTCs(1) Test Result Suspected Trouble Area Proceed to
    - EVAP pressure (step 3/5) lower than second reference pressure (step 5/5) Not yet determined (no leakage from EVAP system) A
    P0441 and P0455 EVAP pressure (step 3/5) higher than [second reference pressure (step 5/5) x 0.2]
    • Purge VSV stuck open
    • EVAP gross leak
    B
    P0456 EVAP pressure (step 3/5) higher than second reference pressure (step 5/5) EVAP small leak B
    (1) These DTCs are already present in the ECM when the vehicle arrives and are confirmed in the "CONFIRM DTC" procedures above.

    A: Go to step  35

    B: Go to step  12

  11. PERFORM EVAPORATIVE SYSTEM CHECK (STEP 3/5) 
    1. Check the EVAP pressure in step 3/5.
      Fig 10: EVAP Pressure Malfunction Chart - STEP 3/5
      G04828307Courtesy of © TOYOTA, LICENSE AGREEMENT TMS1002

      Result 

      RESULT CHART

      DTCs(1) Test Result Suspected Trouble Area Proceed to
      P043F EVAP pressure less than reference pressure measured at 2/5 Reference orifice high-flow A
      P2401 EVAP pressure almost same as reference pressure measured at 2/5 Leak detection pump stuck OFF B
      (1) These DTCs are already present in the ECM when the vehicle arrives and are confirmed in the "CONFIRM DTC" procedures above.

      HINT:
      The first reference pressure is the value determined in step 2/5.

    A: Go to step  29

    B: Go to step  22

  12. PERFORM ACTIVE TEST USING TECHSTREAM (PURGE VSV) 
    1. On the Techstream, select the following menu items: Powertrain/Engine and ECT/Active Test/Activate the VSV for EVAP Control.
    2. Disconnect the hose (connected to the canister) from the purge VSV.
    3. Start the engine.
    4. Using the Techstream, turn off the purge VSV (EVAP VSV: OFF).
    5. Use your finger to confirm that the purge VSV has no suction.
    6. Using the Techstream, turn on the purge VSV (EVAP VSV: ON).
    7. Use your finger to confirm that the purge VSV has suction.
      Fig 11: Locating Purge VSV And Hose
      G05539135Courtesy of © TOYOTA, LICENSE AGREEMENT TMS1002

      Result 

      RESULT CHART

      Test Result Suspected Trouble Area Proceed to
      No suction when purge VSV turned OFF, and suction applied when turned ON Purge VSV normal A
      Suction applied when purge VSV turned OFF Purge VSV stuck open B
      No suction when purge VSV turned ON
      • Purge VSV stuck closed
      • Problems with EVAP hose between purge VSV and intake manifold
      C
    8. Reconnect the hose.

    B: Go to step  14

    C: Go to step  15

    A: Go to Next Step 

  13. CHECK FUEL CAP ASSEMBLY 
    1. Check that the fuel cap is correctly installed and confirm the fuel cap meets OEM specifications.
    2. Tighten the fuel cap until a click sounds are heard.

      HINT:

      If an EVAP tester is available, check the fuel cap using the tester.

      1. Remove the fuel cap and install it onto a fuel cap adapter.
      2. Connect an EVAP tester pump hose to the adapter, and pressurize the cap to 3.2 to 3.7 kPa (24 to 28 mmHg) using an EVAP tester pump.
      3. Seal the adapter and wait for 2 minutes.
      4. Check the pressure. If the pressure is 2 kPa (15 mmHg) or more, the fuel cap is normal.

      Result 

      RESULT CHART

      Test Result Suspected Trouble Area Proceed to
      Fuel cap correctly installed - A
      Fuel cap loose
      • Fuel cap improperly installed
      • Defective fuel cap
      • Fuel cap does not meet OEM specifications
      B
      Defective fuel cap - B
      No fuel cap - C
    3. Reinstall the fuel cap.

    A: Go to step  28

    B: Go to step  26

    C: Go to step  27

  14. INSPECT DUTY VACUUM SWITCHING VALVE (PURGE VSV) 
    1. Turn the ignition switch off.
    2. Disconnect the V1 purge VSV connector.
    3. Disconnect the hose (connected to the canister) from the purge VSV.
    4. Start the engine.
    5. Use your finger to confirm that the purge VSV has no suction.
      Fig 12: Locating Purge VSV And Hose
      G05539135Courtesy of © TOYOTA, LICENSE AGREEMENT TMS1002

      Result 

      RESULT CHART

      Test Result Suspected Trouble Area Proceed to
      No suction ECM A
      Suction applied Purge VSV B
    6. Reconnect the purge VSV connector.
    7. Reconnect the hose.

    A: Go to step  34

    B: Go to step  30

  15. CHECK EVAP HOSE (PURGE VSV - INTAKE MANIFOLD) 
    1. Disconnect the hose (connected to the intake manifold) from the purge VSV.
    2. Start the engine.
    3. Use your finger to confirm that the hose has suction.
      Fig 13: Locating Purge VSV
      G05539137Courtesy of © TOYOTA, LICENSE AGREEMENT TMS1002

      Result 

      RESULT CHART

      Test Result Suspected Trouble Area Proceed to
      Suction applied EVAP hose between purge VSV and intake manifold normal A
      No suction
      • Intake manifold port
      • EVAP hose between purge VSV and intake manifold
      B
    4. Reconnect the hose.

    B: Go to step  25

    A: Go to Next Step 

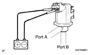
  16. INSPECT DUTY VACUUM SWITCHING VALVE (PURGE VSV) 
    1. Remove the purge VSV.
    2. Apply the battery voltage to the terminals of the purge VSV.
    3. Using compressed air, confirm that air flows from port A to port B.
      Fig 14: Inspecting Duty Vacuum Switching Valve (Purge VSV)
      G06276436Courtesy of © TOYOTA, LICENSE AGREEMENT TMS1002

      Result 

      RESULT CHART

      Test Result Suspected Trouble Area Proceed to
      Air flows Purge VSV normal A
      No air flow Purge VSV B
    4. Install the purge VSV.

    B: Go to step  30

    A: Go to Next Step 

  17. CHECK HARNESS AND CONNECTOR (POWER SOURCE OF PURGE VSV) 
    1. Disconnect the V1 purge VSV connector.
    2. Turn the ignition switch to the ON position.
    3. Measure the voltage between terminal 2 of the purge VSV connector and body ground.
      Fig 15: Identifying V1 Purge VSV Connector Terminals
      G06276437Courtesy of © TOYOTA, LICENSE AGREEMENT TMS1002

      Result 

      RESULT CHART

      Test Result Suspected Trouble Area Proceed to
      11 to 14 V Normal A
      Other than result above Wire harness or connectors between purge VSV and ECM B
    4. Reconnect the purge VSV connector.

    B: Go to step  31

    A: Go to Next Step 

  18. CHECK HARNESS AND CONNECTOR (PURGE VSV - ECM) 
    1. Disconnect the E7 ECM connector and the V1 purge VSV connector.
    2. Measure the resistance according to the value (s) in the table below.

      Standard resistance 

      TESTER CONNECTION SPECIFIED CONDITION CHART

      Tester Connection Specified Condition
      E7-23 (PRG) - V1-2 (Purge VSV) Below 1 Ω
      E7-23 (PRG) - Body ground 10 kΩ or higher
      V1-2 (Purge VSV) - Body ground 10 kΩ or higher
    3. Reconnect the purge VSV connector.
    4. Reconnect the ECM connector.

    OK: Go to step  34

    NG: Go to step  31

    Fig 16: Checking Harness And Connector (Purge VSV - ECM)
    G05539140Courtesy of © TOYOTA, LICENSE AGREEMENT TMS1002
  19. INSPECT CANISTER PUMP MODULE (POWER SOURCE FOR VENT VALVE) 
    1. Turn the ignition switch off.
    2. Disconnect the L1 canister pump module connector.
    3. Turn the ignition switch to the ON position.
      Fig 17: Locating L1 Canister Pump Module Connector
      G05539048Courtesy of © TOYOTA, LICENSE AGREEMENT TMS1002
    4. Measure the voltage between the VLVB terminal of the canister pump module connector and body ground.
      Fig 18: Identifying L1 Canister Pump Module Connector Terminals
      G05539142Courtesy of © TOYOTA, LICENSE AGREEMENT TMS1002

      Result 

      RESULT CHART

      Test Result Suspected Trouble Area Proceed to
      9 to 14 V
      1. Wire harness between vent valve and ECM
      2. Vent valve
      3. ECM
      A
      Below 3 V Power source wire harness of vent valve B
    5. Reconnect the canister pump module connector.

    B: Go to step  31

    A: Go to Next Step 

  20. INSPECT CANISTER PUMP MODULE (VENT VALVE OPERATION) 
    1. Turn the ignition switch off.
    2. Disconnect the L1 canister pump module connector.
    3. Apply battery voltage to the 9 and 8 terminals of the canister pump module.
    4. Touch the canister pump module to confirm the vent valve operation.
      Fig 19: Inspecting Canister Pump Module (Vent Valve Operation)
      G05285702Courtesy of © TOYOTA, LICENSE AGREEMENT TMS1002

      Result 

      RESULT CHART

      Test Result Suspected Trouble Area Proceed to
      Operating
      1. Wire harness between vent valve and ECM
      2. ECM
      A
      Not operating Vent valve B
    5. Reconnect the canister pump module connector.

    B: Go to step  29

    A: Go to Next Step 

  21. CHECK HARNESS AND CONNECTOR (ECM - CANISTER PUMP MODULE) 
    1. Disconnect the E4 ECM connector.
    2. Disconnect the L1 canister pump module connector.
    3. Measure the resistance between the VPMP terminal of the ECM connector and the VGND terminal of the canister pump module connector.
      Fig 20: Identifying E4 ECM Connector And L1 Canister Pump Module Connector
      G06276442Courtesy of © TOYOTA, LICENSE AGREEMENT TMS1002

      Result 

      RESULT CHART

      Test Result Suspected Trouble Area Proceed to
      Below 1 Ω ECM A
      10 kΩ or higher Wire harness between ECM and canister pump module B
    4. Reconnect the ECM connector.
    5. Reconnect the canister pump module connector.

    A: Go to step  34

    B: Go to step  31

  22. PERFORM ACTIVE TEST USING TECHSTREAM (VACUUM PUMP (ALONE)) 
    1. Turn the ignition switch off.
    2. Disconnect the L1 canister pump module connector.
    3. Turn the ignition switch to the ON position.
    4. On the Techstream, select the following menu items: Powertrain/Engine and ECT/Active Test/Activate the Vacuum Pump.
    5. Measure the voltage between the MTRB terminal of the canister pump module connector and body ground when the leak detection pump is turned ON and OFF using the Techstream.
      Fig 21: Identifying L1 Canister Pump Module Connector Terminals
      G06276443Courtesy of © TOYOTA, LICENSE AGREEMENT TMS1002

      Result 

      RESULT CHART

      Test Result Suspected Trouble Area Proceed to
      Below 3 V when OFF 9 to 14 V when ON
      1. Wire harness between leak detection pump and body ground
      2. Leak detection pump
      A
      Below 3 V when OFF and ON
      1. Wire harness between leak detection pump and ECM
      2. ECM
      B
    6. Reconnect the canister pump module connector.

    B: Go to step  24

    A: Go to Next Step 

  23. CHECK HARNESS AND CONNECTOR (CANISTER PUMP MODULE - BODY GROUND) 
    1. Turn the ignition switch off.
    2. Disconnect the L1 canister pump module connector.
    3. Measure the resistance between the MGND terminal of the canister pump module connector and body ground.
      Fig 22: Identifying L1 Canister Pump Module Connector Terminals
      G06276444Courtesy of © TOYOTA, LICENSE AGREEMENT TMS1002

      Result 

      RESULT CHART

      Test Result Suspected Trouble Area Proceed to
      Below 1 Ω Leak detection pump A
      10 kΩ or higher Wire harness between canister pump module and body ground B
    4. Reconnect the canister pump module connector.

    A: Go to step  29

    B: Go to step  31

  24. CHECK HARNESS AND CONNECTOR (ECM - CANISTER PUMP MODULE) 
    1. Turn the ignition switch off.
    2. Disconnect the L1 canister pump module connector.
    3. Disconnect the E4 ECM connector.
    4. Measure the resistance between the MPMP terminal of the ECM connector and the MTRB terminal of the canister pump module connector.
      Fig 23: Checking Harness And Connector (ECM - Canister Pump Module)
      G06276445Courtesy of © TOYOTA, LICENSE AGREEMENT TMS1002

      Result 

      RESULT CHART

      Test Result Suspected Trouble Area Proceed to
      Below 1 Ω ECM A
      10 kΩ or higher Wire harness between ECM and canister pump module B
    5. Reconnect the canister pump module connector.
    6. Reconnect the ECM connector.

    A: Go to step  34

    B: Go to step  31

  25. INSPECT INTAKE MANIFOLD (EVAP PURGE PORT) 
    1. Stop the engine.
    2. Disconnect the EVAP hose from the intake manifold.
    3. Start the engine.
    4. Use your finger to confirm that the port of the intake manifold has suction.

      Result 

      RESULT CHART

      Test Result Suspected Trouble Area Proceed to
      Suction applied EVAP hose between intake manifold and purge VSV A
      No suction Intake manifold B
    5. Reconnect the EVAP hose.

    A: Go to step  32

    B: Go to step  33

  26. CORRECTLY REINSTALL OR REPLACE FUEL CAP 

    HINT:

    • When reinstalling the fuel cap, tighten it until a few click sounds are heard.
    • When replacing the fuel cap, use a fuel cap that meets OEM specifications, and install it until a click sounds are heard.

    Go to step  36

  27. REPLACE FUEL CAP 

    HINT:

    When installing the fuel cap, tighten it until a few click sounds are heard.

    Go to step  36

  28. LOCATE EVAP LEAK PART 
    1. Disconnect the vent hose.
      Fig 24: Identifying EVAP Components
      G06276446Courtesy of © TOYOTA, LICENSE AGREEMENT TMS1002
    2. Connect the EVAP pressure tester tool to the canister pump module with the adapter.
      Fig 25: Connecting The EVAP Pressure Tester Tool To The Canister Pump Module With The Adapter
      G05539149Courtesy of © TOYOTA, LICENSE AGREEMENT TMS1002
    3. Pressurize the EVAP system to 3.2 to 3.7 kPa (24 to 28 mmHg).
    4. Apply soapy water to the piping and connecting parts of the EVAP system.
    5. Look for areas where bubbles appear. This indicates the leak point.
    6. Repair or replace the leak point.

      HINT:

      Disconnect the hose between the canister and the fuel tank from the canister. Block the canister side and conduct an inspection. In this way, the fuel tank can be excluded as an area suspected of causing fuel leaks.

    NEXT: Go to step  36

  29. REPLACE CHARCOAL CANISTER ASSEMBLY 
    1. Replace the canister assembly (See REMOVAL ).

    NEXT: Go to step  36

  30. REPLACE DUTY VACUUM SWITCHING VALVE (PURGE VSV) 
    1. Disconnect the connector and the hoses from the purge VSV.
    2. Remove the purge VSV.
    3. Install a new purge VSV
    4. Reconnect the connector and hoses.

    NEXT: Go to step  36

    Fig 26: Identifying Purge VSV
    G05539150Courtesy of © TOYOTA, LICENSE AGREEMENT TMS1002
  31. REPAIR OR REPLACE HARNESS OR CONNECTOR 

    NEXT: Go to step  36

  32. REPLACE EVAP HOSE (INTAKE MANIFOLD - PURGE VSV) 

    NEXT: Go to step  36

  33. INSPECT INTAKE MANIFOLD (EVAP PURGE PORT) 
    1. Check that the EVAP purge port of the intake manifold is not clogged. If necessary, replace the intake manifold.

    NEXT: Go to step  36

  34. REPLACE ECM 
    1. Replace the ECM (See REMOVAL ).

    NEXT: Go to step  36

  35. REPAIR OR REPLACE PARTS AND COMPONENTS INDICATED BY OUTPUT DTCS 
    1. Repair the malfunctioning areas indicated by the DTCs that had been confirmed when the vehicle was brought in.

    NEXT: Go to step 36 

  36. PERFORM EVAPORATIVE SYSTEM CHECK (AUTOMATIC MODE) 
    NOTE:
    • The Evaporative System Check (Automatic Mode) consists of 5 steps performed automatically by the Techstream. It takes a maximum of approximately 18 minutes.
    • Do not perform the Evaporative System Check when the fuel tank is more than 90% full because the cut-off valve may be closed, making the fuel tank leak check unavailable.
    • Do not run the engine in this step.
    • When the temperature of the fuel is 35°C (95°F) or more, a large amount of vapor forms and any check results become inaccurate. When performing an Evaporative System Check, keep the temperature below 35°C (95°F).
    • Clear the DTCs (See DTC CHECK/CLEAR  ).
    • On the Techstream, select the following menu items: Powertrain/Engine and ECT/Utility/Evaporative System Check/Automatic Mode.
    • After the Evaporative System Check is completed, check for pending DTCs by selecting the following menu items: Powertrain/Engine and ECT/Trouble Codes/Pending.

      HINT:

      If no pending DTCs are found, the repair has been successfully completed.

    NEXT: COMPLETED