LEMON Manuals: Even more car manuals for everyone
Home >> Scion >> 2009 >> tC Automatic >> Repair and Diagnosis >> Engine Performance >> 2AZ-FE Engine Control System >> SFI System >> ECM Power Source Circuit >> Inspection Procedure

Inspection Procedure

  1. INSPECT ECM (+B VOLTAGE) 
    1. Disconnect the E4 and E8 ECM connectors.
    2. Turn the ignition switch to the ON position.
    3. Measure the voltage according to the value (s) in the table below.

      Standard voltage 

      TESTER CONNECTION SPECIFIED CONDITION CHART

      Tester Connection Specified Condition
      +B (E4-1) - E1 (E8-3) 9 to 14 V
    4. Reconnect the ECM connectors.

    OK: PROCEED TO NEXT CIRCUIT INSPECTION SHOWN IN PROBLEM SYMPTOMS TABLE  (See PROBLEM SYMPTOMS TABLE )

    NG: Go to Next Step 

    Fig 1: Disconnecting The E4 And E8 ECM Connectors
    G06276450Courtesy of © TOYOTA, LICENSE AGREEMENT TMS1002
  2. CHECK WIRE HARNESS (ECM - BODY GROUND) 
    1. Disconnect the negative battery cable.
    2. Disconnect the E8 ECM connector.
    3. Measure the resistance according to the value (s) in the table below.

      Standard resistance 

      TESTER CONNECTION SPECIFIED CONDITION CHART

      Tester Connection Specified Condition
      E1 (E8-3) - Body ground Below 1 Ω
    4. Reconnect the cable.
    5. Reconnect the ECM connector.

    NG: REPAIR OR REPLACE HARNESS OR CONNECTOR 

    OK: Go to Next Step 

    Fig 2: Disconnecting The E8 ECM Connector
    G06276451Courtesy of © TOYOTA, LICENSE AGREEMENT TMS1002
  3. INSPECT ECM (IGSW VOLTAGE) 
    1. Disconnect the E4 and E8 ECM connectors.
    2. Turn the ignition switch to the ON position.
    3. Measure the voltage according to the value (s) in the table below.

      Standard voltage 

      TESTER CONNECTION SPECIFIED CONDITION CHART

      Tester Connection Specified Condition
      IGSW (E4-9) - E1 (E8-3) 9 to 14 V
    4. Reconnect the ECM connectors.

    OK: Go to step  6

    NG: Go to Next Step 

    Fig 3: Disconnecting The E4 And E8 ECM Connectors
    G05128302Courtesy of © TOYOTA, LICENSE AGREEMENT TMS1002
  4. CHECK FUSE (AM2) 
    1. Remove the AM2 fuse from the engine room relay block.
    2. Measure the resistance of the AM2 fuse.

      Standard resistance: 

      Below 1 Ω 

    3. Reinstall the AM2 fuse.

    NG: CHECK FOR SHORT IN ALL HARNESSES AND COMPONENTS CONNECTED TO FUSE 

    OK: Go to Next Step 

    Fig 4: Identifying AM2 Fuse Location
    G05539155Courtesy of © TOYOTA, LICENSE AGREEMENT TMS1002
  5. INSPECT IGNITION SWITCH ASSEMBLY 
    1. Disconnect the 15 ignition switch connector.
    2. Measure the resistance according to the value (s) in the table below.

      Standard resistance 

      TESTER CONNECTION SPECIFIED CONDITION CHART

      Switch Position Tester Connection Specified Condition
      LOCK All Terminals 10 kΩ or higher
      ON IG2 (6) - AM2 (7) Below 1 Ω
    3. Reconnect the ignition switch connector.

    NG: REPLACE IGNITION SWITCH ASSEMBLY  (See REMOVAL )

    OK: CHECK AND REPLACE HARNESS AND CONNECTOR (BATTERY - IGNITION SWITCH, IGNITION SWITCH - ECM) 

    Fig 5: Identifying Ignition Switch Connector Terminals
    G06276454Courtesy of © TOYOTA, LICENSE AGREEMENT TMS1002
  6. INSPECT ECM (MREL VOLTAGE) 
    1. Turn the ignition switch to the ON position.
    2. Measure the voltage according to the value (s) in the table below.

      Standard voltage 

      TESTER CONNECTION SPECIFIED CONDITION CHART

      Tester Connection Specified Condition
      MREL (E4-8) - E1 (E8-3) 9 to 14 V

    NG: REPLACE ECM  (See REMOVAL )

    OK: Go to Next Step 

    Fig 6: Inspecting ECM (MREL Voltage)
    G05539157Courtesy of © TOYOTA, LICENSE AGREEMENT TMS1002
  7. CHECK FUSE (EFI) 
    1. Remove the EFI fuse from the engine room relay block.
    2. Measure the resistance of the EFI fuse.

      Standard resistance: 

      Below 1 Ω 

    3. Reinstall the EFI fuse.

    NG: CHECK FOR SHORT IN ALL HARNESSES AND COMPONENTS CONNECTED TO FUSE 

    OK: Go to Next Step 

    Fig 7: Identifying EFI Fuse Location
    G05539065Courtesy of © TOYOTA, LICENSE AGREEMENT TMS1002
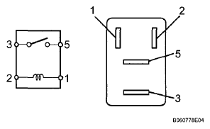
  8. INSPECT EFI RELAY 
    1. Remove the EFI relay from the engine room relay block.
    2. Measure the resistance according to the value (s) in the table below.

      Standard resistance 

      TESTER CONNECTION SPECIFIED CONDITION CHART

      Tester Connection Specified Condition
      3-5 10 kΩ or higher
      3-5 Below 1 Ω (when battery voltage is applied to terminals 1 and 2)
    3. Reinstall the EFI relay.

    NG: REPLACE EFI RELAY 

    OK: Go to Next Step 

    Fig 8: EFI Relay Circuit
    G06276201Courtesy of © TOYOTA, LICENSE AGREEMENT TMS1002
  9. CHECK HARNESS AND CONNECTOR (EFI RELAY - ECM, BODY GROUND) 
    1. Check the wire harness between the EFI relay and ECM.
      1. Remove the EFI relay from the engine room relay block.
      2. Disconnect the E4 ECM connector.
      3. Measure the resistance according to the value (s) in the table below.

        Standard resistance 

        TESTER CONNECTION SPECIFIED CONDITION CHART

        Tester Connection Specified Condition
        Engine room relay block (EFI relay terminal 1) -MREL (E4-8) Below 1 Ω
        Engine room relay block (EFI relay terminal 3) -+B (E4-1) Below 1 Ω
        Engine room relay block (EFI relay terminal 1) or MREL (E4-8) - Body ground 10 kΩ or higher
        Engine room relay block (EFI relay terminal 3) or +B (E4-1) - Body ground 10 kΩ or higher
      4. Reinstall the EFI relay.
      5. Reconnect the ECM connector.
      Fig 9: Checking Harness And Connector (EFI Relay - ECM, Body Ground)
      G05539160Courtesy of © TOYOTA, LICENSE AGREEMENT TMS1002
    2. Check the wire harness between the EFI relay and body ground.
      1. Remove the EFI relay from the engine room relay block.
      2. Measure the resistance according to the value (s) in the table below.

        Standard resistance 

        TESTER CONNECTION SPECIFIED CONDITION CHART

        Tester Connection Specified Condition
        Engine room relay block (EFI relay terminal 2) -Body ground Below 1 Ω
      3. Reinstall the EFI relay.

    NG: REPAIR OR REPLACE HARNESS OR CONNECTOR 

    OK: CHECK AND REPAIR HARNESS AND CONNECTOR (TERMINAL 5 OF EFI RELAY - BATTERY POSITIVE TERMINAL)